PatentDB.ru — поиск по патентным документам

Иллюстрации к патенту 2496972

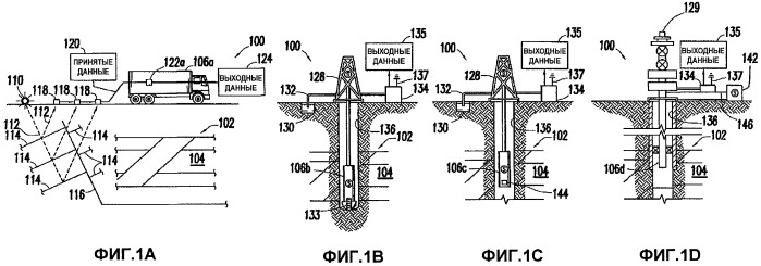
Устройство, способ и система стохастического изучения пласта при нефтепромысловых операциях

Устройство, способ и система стохастического изучения пласта при нефтепромысловых операциях (патент 2496972)