PatentDB.ru — поиск по патентным документам

Иллюстрации к патенту 2502030

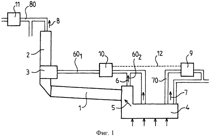
Способ получения цементного клинкера и установка для его производства

Способ получения цементного клинкера и установка для его производства (патент 2502030)