Иллюстрации к патенту
2508039
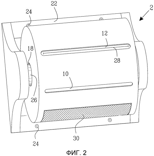
Распределитель для двух разных типов бумаги или нетканых материалов