PatentDB.ru — поиск по патентным документам

Иллюстрации к патенту 2519422

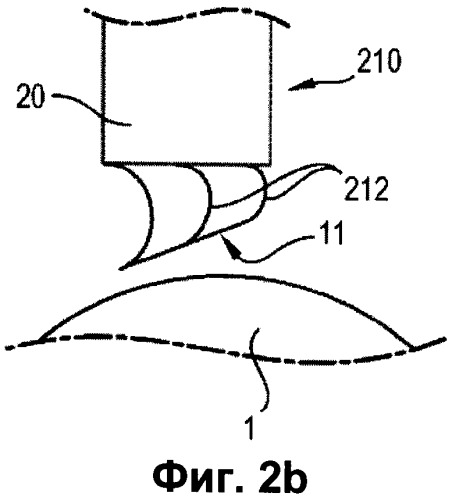
Устройство для взятия образцов с глаза

Устройство для взятия образцов с глаза (патент 2519422)