PatentDB.ru — поиск по патентным документам

Иллюстрации к патенту 2526785

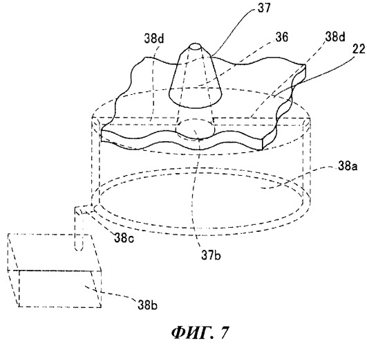
Передающее устройство для передачи информации о состоянии шины и система контроля состояния шины

Передающее устройство для передачи информации о состоянии шины и система контроля состояния шины (патент 2526785)