PatentDB.ru — поиск по патентным документам

Иллюстрации к патенту 320754

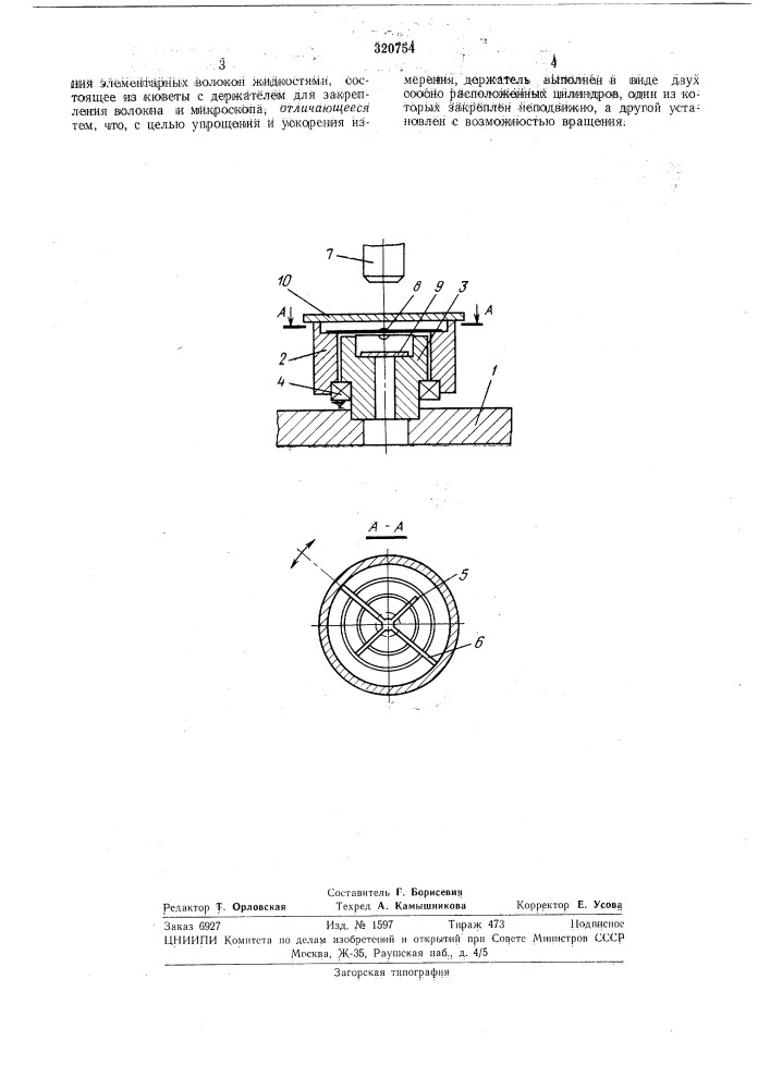
Устройство для измерения углов смачивания элементарных волокон жидкостями

Устройство для измерения углов смачивания элементарных волокон жидкостями (патент 320754)