PatentDB.ru — поиск по патентным документам

Иллюстрации к патенту 2529595

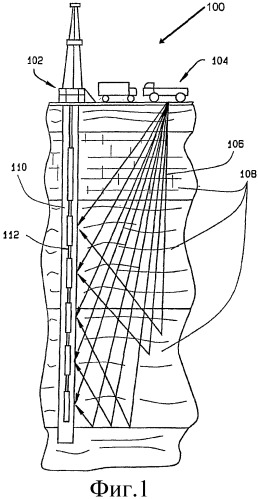
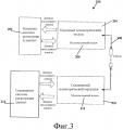
Способы и системы для скважинной телеметрии

Способы и системы для скважинной телеметрии (патент 2529595)