Иллюстрации к патенту
2545866
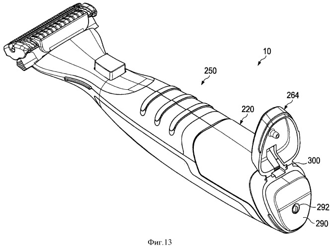
Дозирующее жидкость устройство для удаления волос с дозатором