PatentDB.ru — поиск по патентным документам

Иллюстрации к патенту 2553786

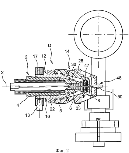
Устройство для замены электрода, обладающее повышенной безопасностью

Устройство для замены электрода, обладающее повышенной безопасностью (патент 2553786)