PatentDB.ru — поиск по патентным документам

Иллюстрации к патенту 2565064

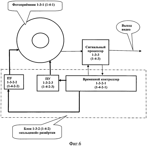
Устройство телевизионно-компьютерной системы для панорамной охраны "день-ночь"

Устройство телевизионно-компьютерной системы для панорамной охраны "день-ночь" (патент 2565064)