PatentDB.ru — поиск по патентным документам

Иллюстрации к патенту 366321

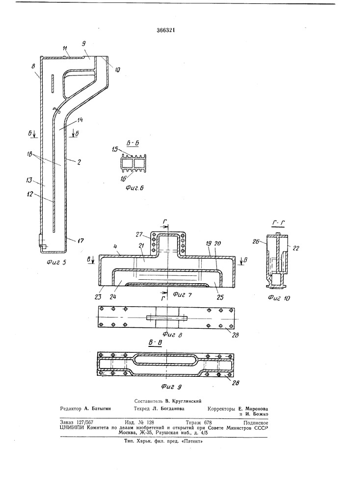
Прямоточный чугунный секцконный котел(.._..,-.:..,

Прямоточный чугунный секцконный котел(.._..,-.:.., (патент 366321)