Иллюстрации к патенту
2580966
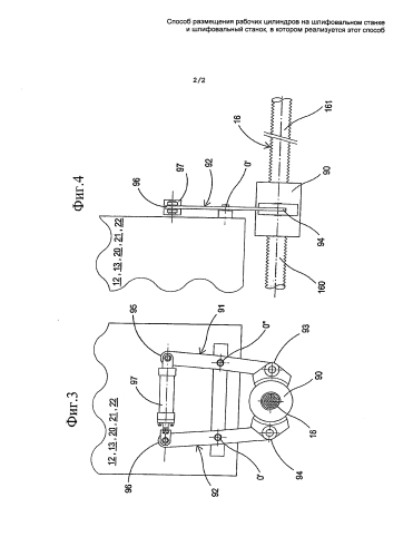
Способ размещения рабочих цилиндров на шлифовальном станке и шлифовальный станок, в котором реализуется этот способ