Иллюстрации к патенту
2583366
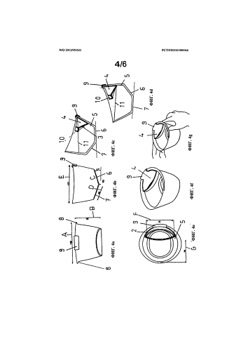
Чайная чашка и способ ее выполнения