PatentDB.ru — поиск по патентным документам

Иллюстрации к патенту 2584763

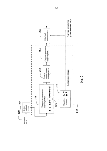
Способ декодирования изображения в форме битового потока

Способ декодирования изображения в форме битового потока (патент 2584763)