PatentDB.ru — поиск по патентным документам

Иллюстрации к патенту 2585187

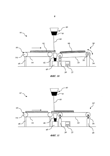
Устройство и способ нанесения покрытия на листовые элементы наливом

Устройство и способ нанесения покрытия на листовые элементы наливом (патент 2585187)