PatentDB.ru — поиск по патентным документам

Иллюстрации к патенту 2597032

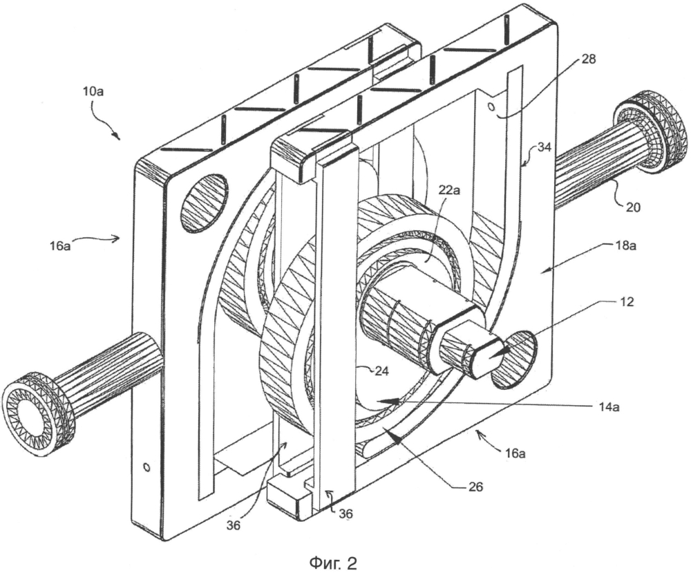
Десмодромный вал и вилка в сборе для преобразования прямолинейного движения во вращательное

Десмодромный вал и вилка в сборе для преобразования прямолинейного движения во вращательное (патент 2597032)