PatentDB.ru — поиск по патентным документам

Иллюстрации к патенту 2606074

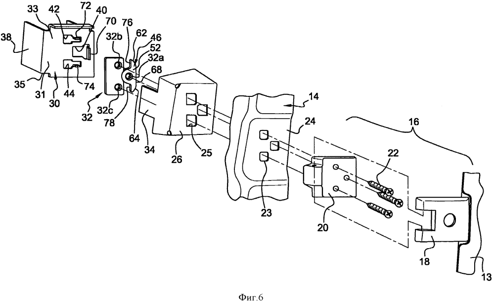
Шарнирный узел для шарнирного соединения створчатой двери автотранспортного средства

Шарнирный узел для шарнирного соединения створчатой двери автотранспортного средства (патент 2606074)