PatentDB.ru — поиск по патентным документам

Иллюстрации к патенту 2608279

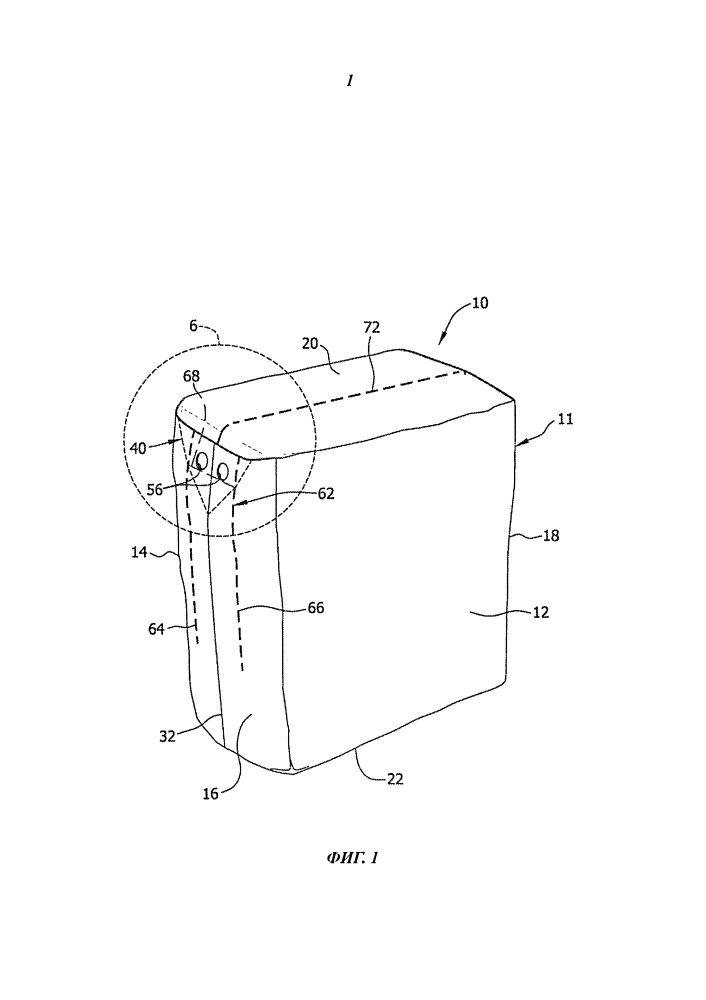
Открывающаяся деталь для упаковки, содержащей внутри абсорбирующие изделия

Открывающаяся деталь для упаковки, содержащей внутри абсорбирующие изделия (патент 2608279)