PatentDB.ru — поиск по патентным документам

Иллюстрации к патенту 2615044

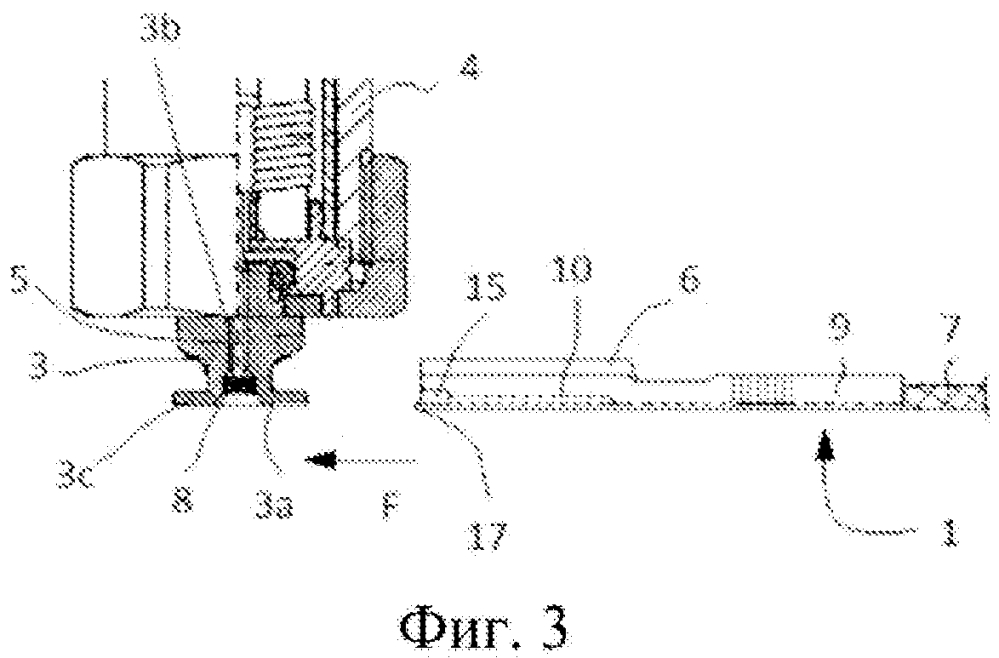
Комбинация термопары и электромагнитного газового клапана

Комбинация термопары и электромагнитного газового клапана (патент 2615044)