PatentDB.ru — поиск по патентным документам

Иллюстрации к патенту 2617414

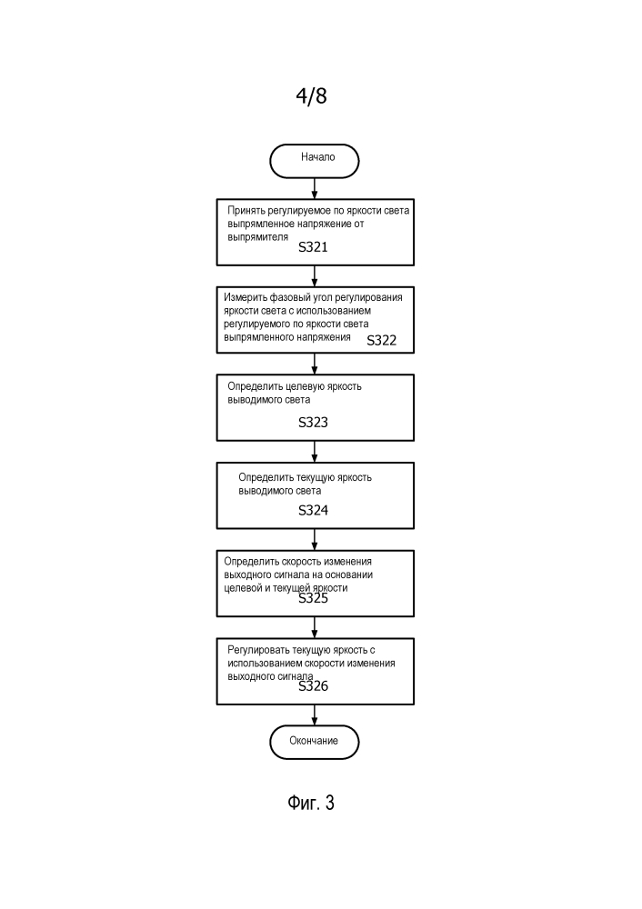
Плавное регулирование твердотельного источника света с использованием вычисляемой скорости изменения выходного сигнала

Плавное регулирование твердотельного источника света с использованием вычисляемой скорости изменения выходного сигнала (патент 2617414)