PatentDB.ru — поиск по патентным документам

Иллюстрации к патенту 2620675

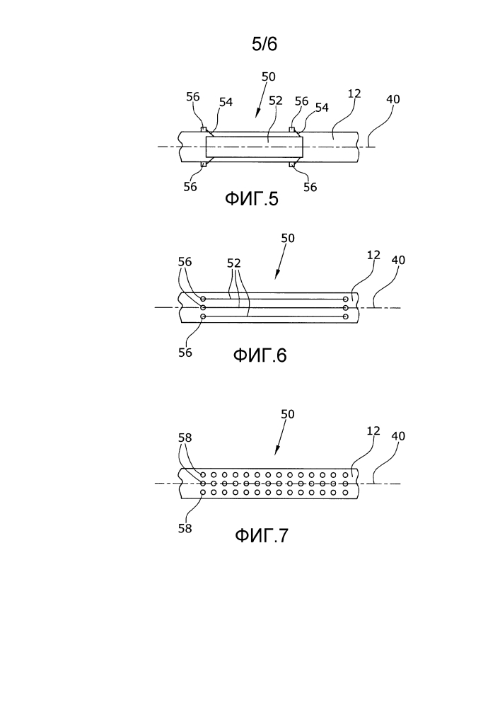
Самоходная фрезерная машина, а также способ отвода сфрезерованного материала

Самоходная фрезерная машина, а также способ отвода сфрезерованного материала (патент 2620675)