PatentDB.ru — поиск по патентным документам

Иллюстрации к патенту 2623290

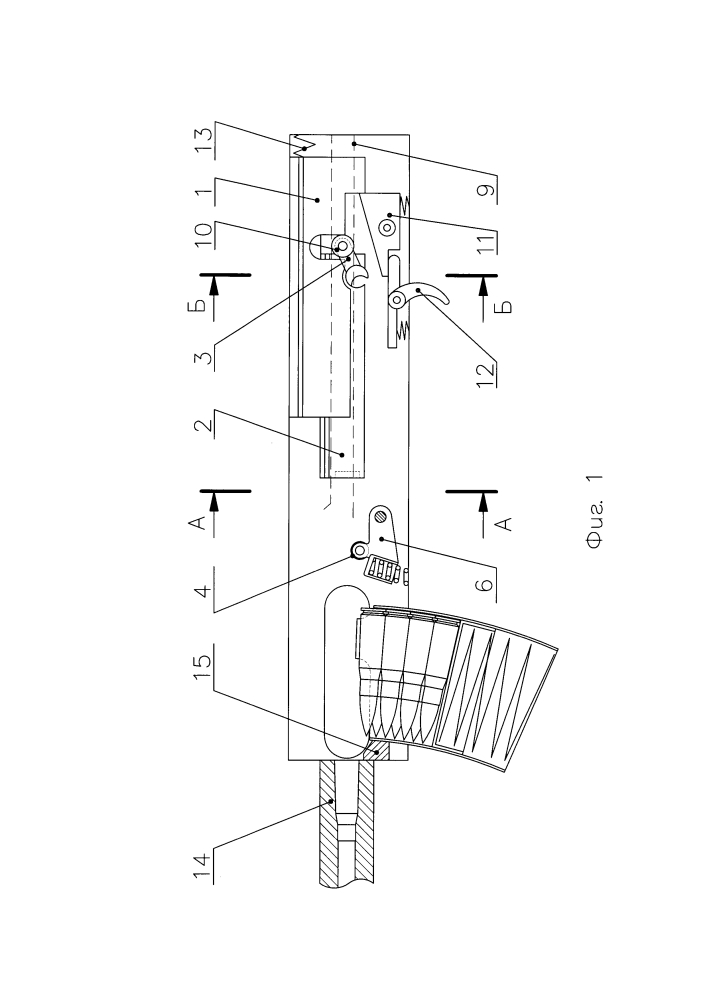
Запирающий механизм стрелкового оружия (варианты)

Запирающий механизм стрелкового оружия (варианты) (патент 2623290)