PatentDB.ru — поиск по патентным документам

Иллюстрации к патенту 2624124

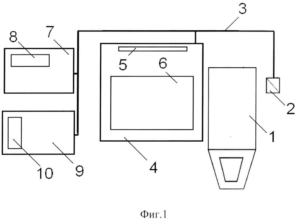
Мобильная система обучения населения действиям в условиях чрезвычайных ситуаций

Мобильная система обучения населения действиям в условиях чрезвычайных ситуаций (патент 2624124)