PatentDB.ru — поиск по патентным документам

Иллюстрации к патенту 2630632

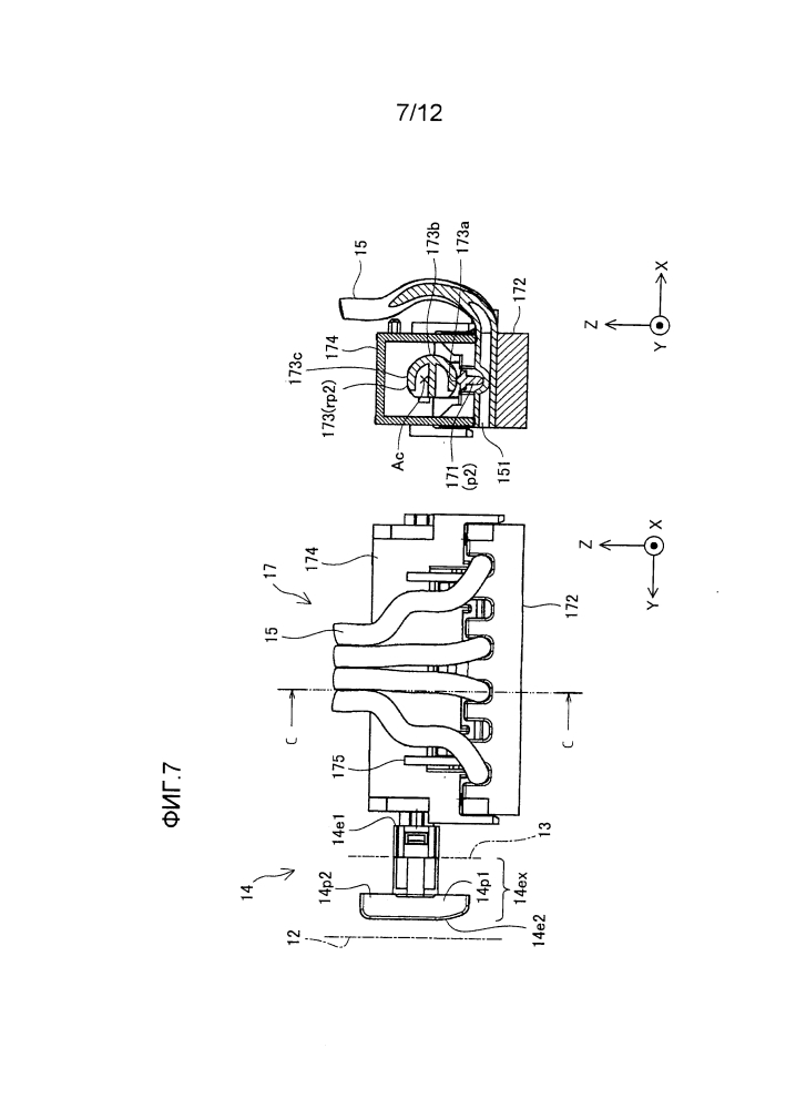
Устройство подачи жидкости и система выпрыскивания жидкости

Устройство подачи жидкости и система выпрыскивания жидкости (патент 2630632)