PatentDB.ru — поиск по патентным документам

Иллюстрации к патенту 2630925

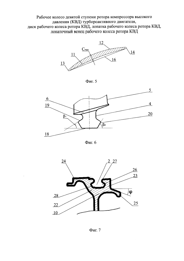
Рабочее колесо девятой ступени ротора компрессора высокого давления (квд) турбореактивного двигателя, диск рабочего колеса ротора квд, лопатка рабочего колеса ротора квд, лопаточный венец рабочего колеса ротора квд

Рабочее колесо девятой ступени ротора компрессора высокого давления (квд) турбореактивного двигателя, диск рабочего колеса ротора квд, лопатка рабочего колеса ротора квд, лопаточный венец рабочего колеса ротора квд (патент 2630925)