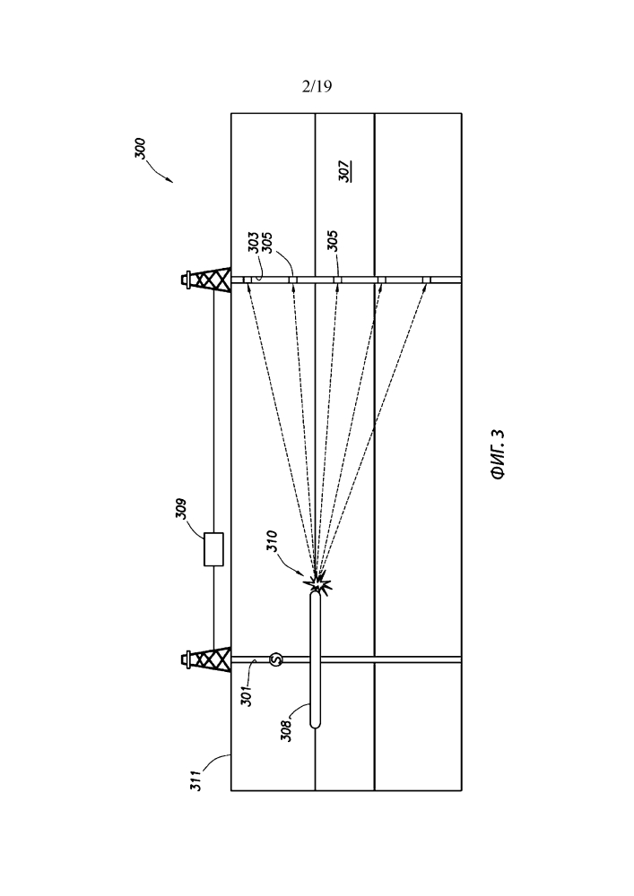
Иллюстрации к патенту
2634677
Система и способ выполнения скважинных операций гидроразрыва