PatentDB.ru — поиск по патентным документам

Иллюстрации к патенту 2635288

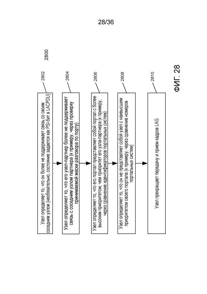
Способ и система для поддержки операций по протоколу управления распределенным ретранслятором (drcp) при сбое связи

Способ и система для поддержки операций по протоколу управления распределенным ретранслятором (drcp) при сбое связи (патент 2635288)