PatentDB.ru — поиск по патентным документам

Иллюстрации к патенту 2639279

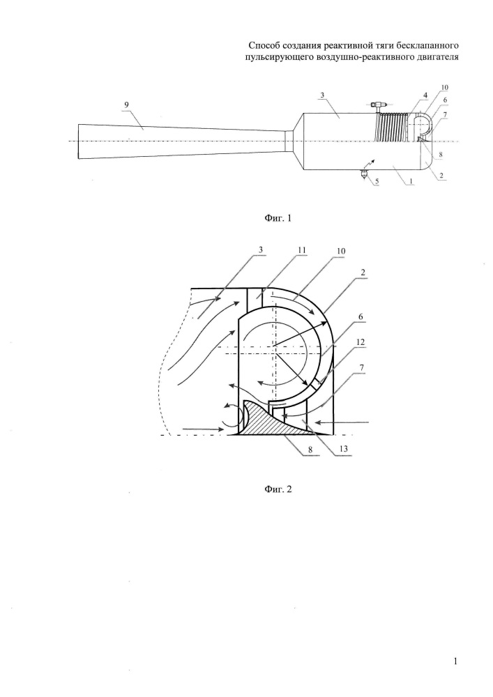
Способ создания реактивной тяги бесклапанного пульсирующего воздушно-реактивного двигателя

Способ создания реактивной тяги бесклапанного пульсирующего воздушно-реактивного двигателя (патент 2639279)