PatentDB.ru — поиск по патентным документам

Иллюстрации к патенту 2640356

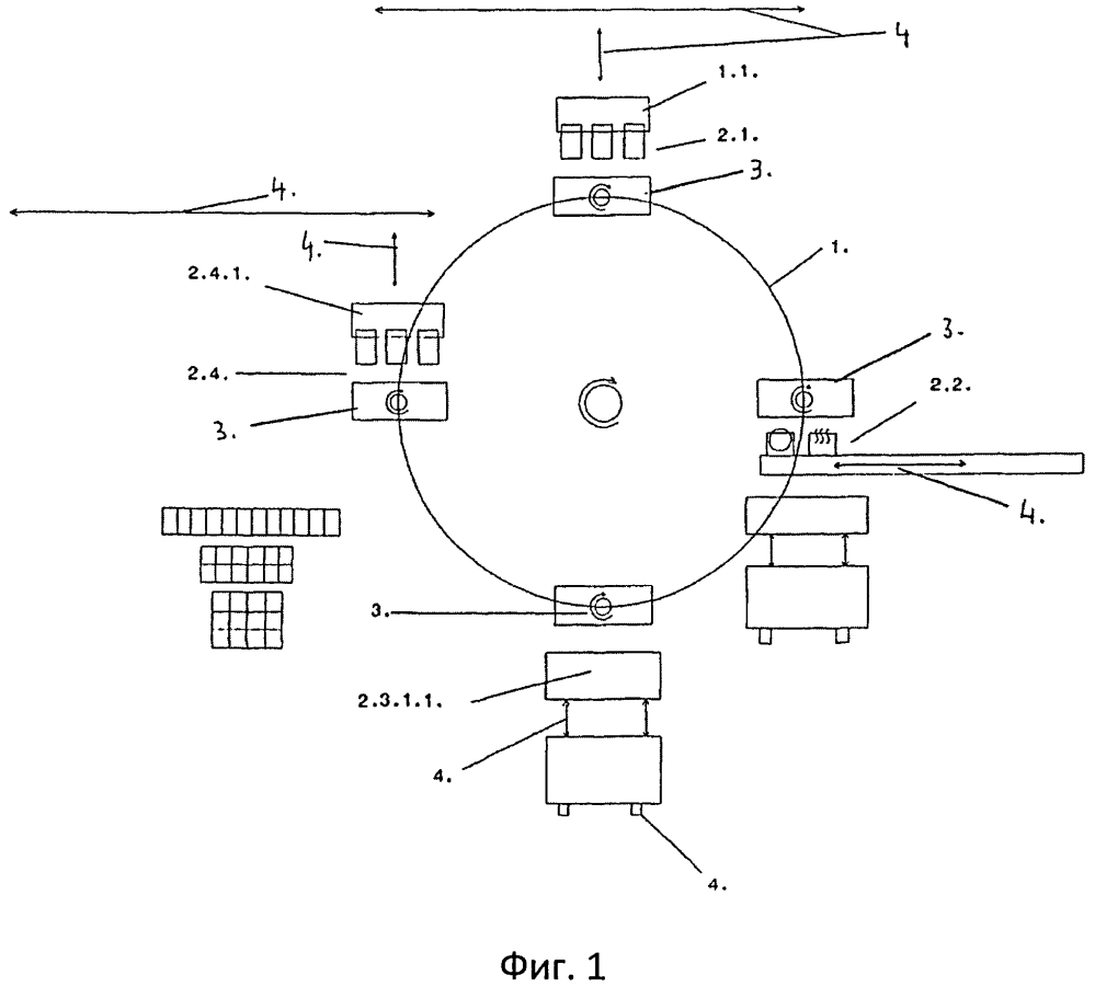
Система для обработки аккумуляторных пластин и их размещения в предоставленном корпусе аккумуляторов

Система для обработки аккумуляторных пластин и их размещения в предоставленном корпусе аккумуляторов (патент 2640356)