PatentDB.ru — поиск по патентным документам

Иллюстрации к патенту 2644495

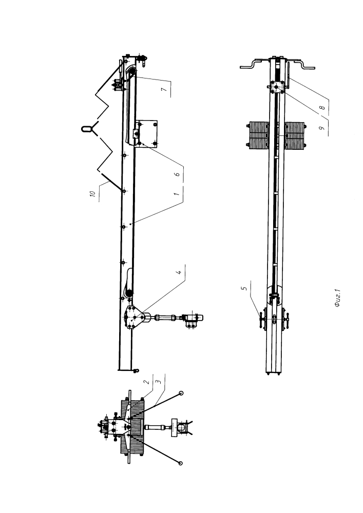
Траверса для кантования вводов

Траверса для кантования вводов (патент 2644495)