PatentDB.ru — поиск по патентным документам

Иллюстрации к патенту 2648612

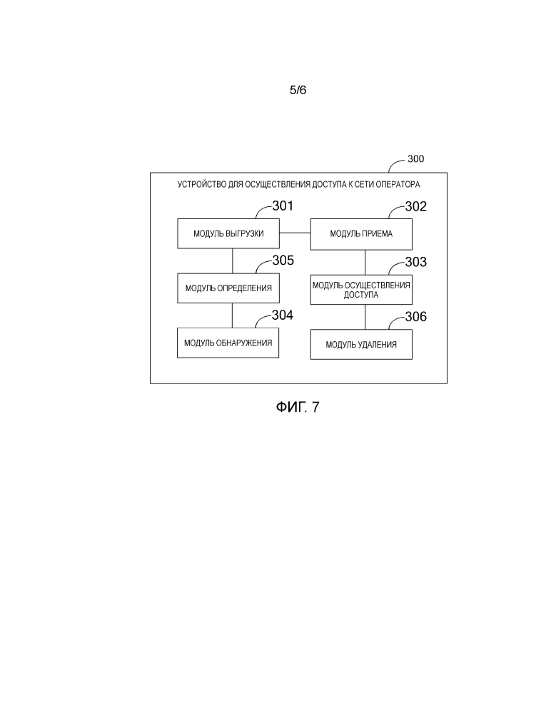
Способ и устройство для реализации доступа к сети оператора

Способ и устройство для реализации доступа к сети оператора (патент 2648612)