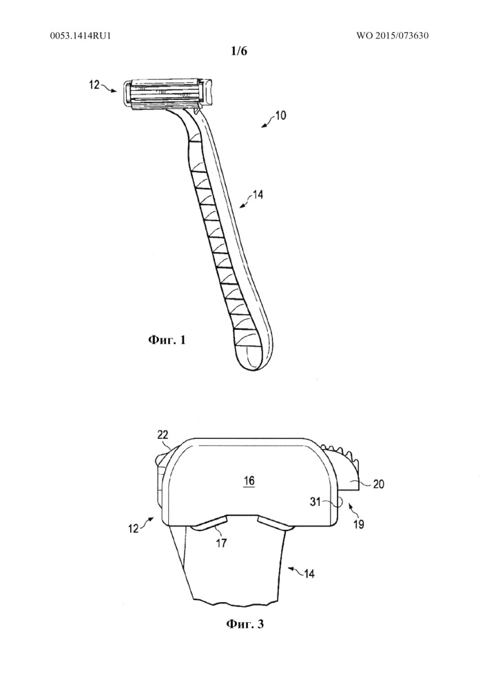
Иллюстрации к патенту
2653516
Защитный элемент картриджа бритвенного прибора