Иллюстрации к патенту
2653694
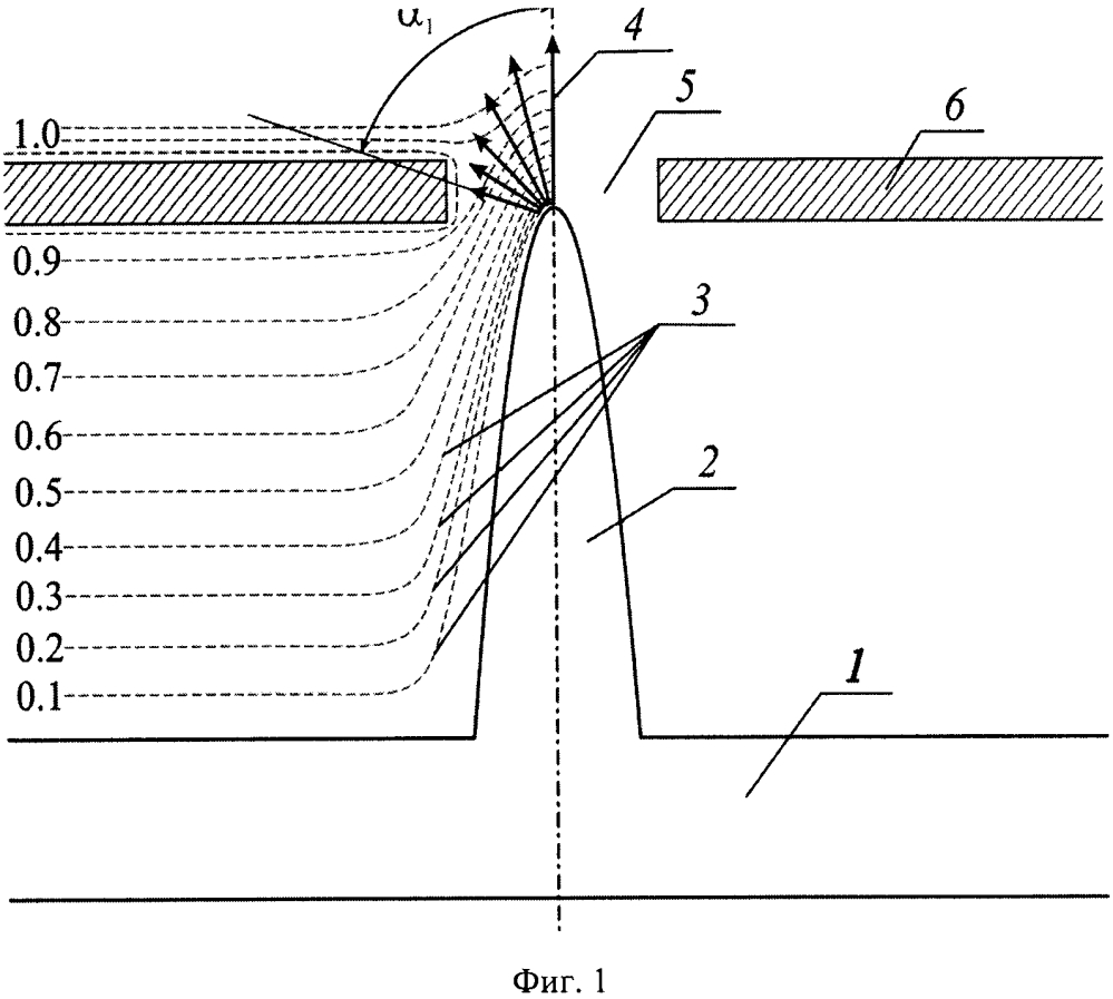
Катодно-сеточный узел с вертикально ориентированным автоэмиссионным катодом