PatentDB.ru — поиск по патентным документам

Иллюстрации к патенту 2657580

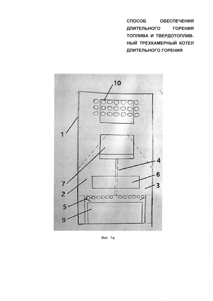
Способ обеспечения длительного горения топлива и твердотопливный трехкамерный котел длительного горения

Способ обеспечения длительного горения топлива и твердотопливный трехкамерный котел длительного горения (патент 2657580)