PatentDB.ru — поиск по патентным документам

Иллюстрации к патенту 2658602

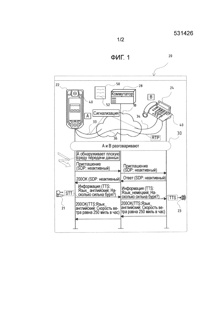
Поддержание аудиосвязи в перегруженном канале связи

Поддержание аудиосвязи в перегруженном канале связи (патент 2658602)