PatentDB.ru — поиск по патентным документам

Иллюстрации к патенту 2666836

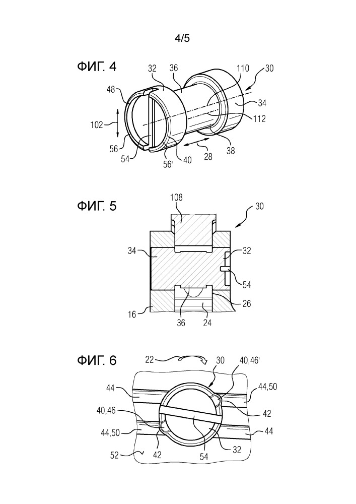
Способ сборки ступени статора газотурбинного двигателя

Способ сборки ступени статора газотурбинного двигателя (патент 2666836)