PatentDB.ru — поиск по патентным документам

Иллюстрации к патенту 420143

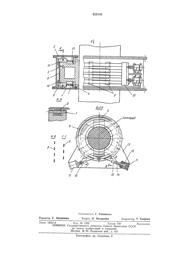
Зажимное устройство электрода дуговойпечи

Зажимное устройство электрода дуговойпечи (патент 420143)