Шемякин Вячеслав Валерьянович (RU)
Шемякин Вячеслав Валерьянович (RU) является правообладателем следующих патентов:

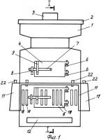
Печь для сжигания низкосортного каменного угля
Изобретение относится к печам для сжигания топлива и может быть использовано для теплоснабжения населения. Печь для сжигания топлива - низкосортного каменного угля - содержит корпус, выполненный с сужением в верхней части, снабженный крышкой, дверцами для загрузки топлива и выгрузки золы и окнами забора воздуха в топку. В топке печи установлены колосник, образующий дутьевой канал для сжигания топл...
2306487