Печь для сжигания низкосортного каменного угля

Иллюстрации

Показать все

Изобретение относится к печам для сжигания топлива и может быть использовано для теплоснабжения населения. Печь для сжигания топлива - низкосортного каменного угля - содержит корпус, выполненный с сужением в верхней части, снабженный крышкой, дверцами для загрузки топлива и выгрузки золы и окнами забора воздуха в топку. В топке печи установлены колосник, образующий дутьевой канал для сжигания топлива, колосник, образующий дутьевой канал, установленный внутри сжигаемого топлива, и дополнительно два колосника, образующих дутьевые каналы для сжигания топлива, причем дутьевой канал, установленный внутри сжигаемого топлива, расположен по центру дутьевого канала для сжигания топлива. Корпус печи имеет прямоугольную в сечении форму. На корпусе печи по периметру выполнены колосниковые решетки, обеспечивающие подачу воздуха для сжигания топлива, и установлены полки с отверстиями, к которым закреплены с помощью шплинтов четыре воздухозаборных щита, создающих дутьевые каналы для указанных колосниковых решеток. Технический результат: повышение эффективности сжигания топлива за счет создания дополнительной тяги в печи. 18 ил.

Реферат

Уровень техники

В настоящее время для теплоснабжения населения применяются садовые и солдатские печи, а также печи и камины, описанные в книгах фирмой Аделант.

Первую книгу фирма Аделант издала под названием «Печи и камины». Издание Москва, Аделант, 2000 год.

Вторую книгу фирма Аделант издала под названием «Камины и печи». Издание Москва, Аделант, 2002 год.

В существующих топках печей сжигание твердого топлива производится через дутьевой канал, равный площади поперечного сечения топки печи, и через колосники.

В каминах сжигание твердого топлива производится так же, как в топках существующих печей.

В дутьевых каналах печей и каминов воздух медленно нагревается. Также медленно воздух из дутьевых каналов печей и каминов через колосники проходит в топки сжигаемого топлива печей и каминов.

Поэтому в существующих топках печей и каминов сгорание твердого топлива производится до 70%.

30% несгоревшего топлива из топок печей и каминов безвозвратно выбрасывается на улицу.

В настоящее время в России 60 миллионов людей снабжаются теплом ТЭЦ и газовым отоплением.

65 миллионов людей отапливаются солдатскими и садовыми печами, а также печами и каминами, описанными в книгах фирмой Аделант. Издание Москва, Аделант, 2000 и 2002 гг.

Только в России за один год из топок солдатских и садовых печей и печей и каминов фирмы Аделант более 300000 т несгоревшего топлива безвозвратно выбрасывается на улицу.

Сущность изобретения

Печь для сжигания низкосортного каменного угля. С установкой дутьевого канала внутри сжигаемого топлива. С установкой дутьевых каналов для сжигания топлива. С устройством колосниковых решеток на корпусе печи.

В предлагаемой топке печи, изображенной на чертежах №1-18, сжигание твердого топлива производится через восемь дутьевых каналов.

Восемь дутьевых каналов печи увеличивают поступление воздуха в топку сжигаемого топлива на 166%.

В дутьевых каналах печи воздух быстро нагревается, быстро проходит через сжигаемое топливо в топке печи.

Создает дополнительную тягу в топке сжигаемого топлива.

Усеченный корпус печи создает высокую температуру в топке сжигаемого топлива.

Производит сжигание газов и топлива в топке печи (см. чертеж №1 и 4. Деталь №1).

В существующих топках печей и каминов каменный уголь среднего сорта сгорает до 40%, 60% несгоревшего каменного угля из топок печей и каминов безвозвратно выбрасывается на улицу.

В таких же условиях такой же каменный уголь в предлагаемой топке печи, изображенной на чертежах №1-18, сгорает до 100%.

В настоящее время для теплоснабжения населения применяются печи и камины. В существующих топках печей и каминов сжигание твердого топлива производится через дутьевой канал, равный площади поперечного сечения печи или камина и через колосники печи или камина.

Чтобы сжечь подмосковный каменный уголь в топках существующих печей или каминов, требуется принудительное дутье или устройство дополнительной тяги. Без принудительного дутья и без устройства дополнительной тяги подмосковный каменный уголь в топках существующих печей и каминов не горит.

В предлагаемой топке печи, изображенной на чертежах №1-18, сжигание твердого топлива производится через восемь дутьевых каналов.

Поступление воздуха в топку сжигаемого топлива увеличивается на 166%. Усеченный корпус печи создает высокую температуру в топке сжигаемого топлива. Производит сжигание газов и топлива в топке печи.

В предлагаемой топке печи, изображенной на чертежах №1-18, подмосковный уголь сгорает без принудительного дутья и без устройства дополнительной тяги.

Поэтому, печь, изображенная на чертежах №1-18, необходима для теплоснабжения народов Севера и Сибири.

Для теплоснабжения солдат, находящихся в окопах.

Для всех людей, которым необходима защита от замерзания.

В Якутии, Сибири или в Московской области в топке печи, изображенной на чертежах №1-18, каменный уголь сгорает через форточку жилого дома.

Печь для сжигания низкосортного каменного угля с установкой дутьевого канала внутри сжигаемого топлива, с установкой дутьевых каналов для сжигания топлива, с устройством колосниковых решеток на корпусе печи.

Предлагаемая печь относится ко всем видам печей для сжигания твердого топлива. В настоящее время для теплоснабжения населения применяются солдатские и садовые печи.

И печи и камины, описанные в книгах фирмой Аделант. Первую книгу фирма Аделант издала под названием «Печи и камины» Издание Москва, Аделант, 2000 год.

Вторую книгу фирма Аделант издала под названием «Камины и печи». Издание. Москва, Аделант, 2002 год.

В существующих топках печей сжигание твердого топлива производится через дутьевой канал, равный площади поперечного сечения топки печи, и через колосники. В каминах сжигание твердого топлива производится так же, как в топках существующих печей.

В предлагаемой топки печи сжигание твердого топлива производится через восемь дутьевых каналов.

Что поясняется чертежами №1; 2; 3; 4; 5; 6; 7; 8; 9; 10; 11; 12; 13; 14; 15; 16; 17; и 18.

На чертежах №1-18 изображены 30 деталей печи.

Деталь №1 - корпус печи;

Деталь №2 - крышка корпуса печи;

Деталь №3 - патрубок крышки печи;

Деталь №4 - дверца печи для загрузки топлива;

Деталь №5 - дверца печи для удаления сгоревшего топлива;

Деталь №6 - кронштейн для установки дверцы печи;

Деталь №7 - запорные планки дверцы печи;

Деталь №8 - защелка дверцы печи;

Деталь №9 - скобка для ограничения хода запорной планки дверцы печи;

Деталь №10 - полки на корпусе печи для установки дутьевого канала внутри сжигаемого топлива и дутьевого канала для сжигания топлива;

Деталь №11 - полки на корпусе печи для установки воздухозаборных щитов;

Деталь №12 - окна забора воздуха на корпусе печи;

Деталь №13 - дутьевой канал для установки внутри сжигаемого топлива;

Деталь №14 - дутьевые отверстия в дутьевом канале для установки внутри сжигаемого топлива;

Деталь №15 - дутьевые каналы для сжигания топлива;

Деталь №16 - дутьевые отверстия в дутьевых каналах для сжигания топлива;

Деталь №17 - опорные полки дутьевых каналов для сжигания топлива;

Деталь №18 - дутьевые отверстия колосниковой решетки на корпусе печи;

Деталь №19 - дутьевые отверстия на дверце печи для удаления сгоревшего топлива;

Деталь №20 - воздухозаборные щиты печи;

Деталь №21 - отверстие на полках корпуса печи и на воздухозаборных щитах для установки воздухозаборных щитов на корпусе печи;

Деталь №22 - шплинт для закрепления воздухозаборных щитов на корпусе печи;

Деталь №23 - окна забора воздуха для колосниковых решеток корпуса печи;

Деталь №24 - окно для загрузки топлива в топку печи;

Деталь №25 - окно для удаления сгоревшего топлива из топки печи;

Деталь №26 - дутьевые каналы колосниковых решеток корпуса печи;

Деталь №27 - стенки дутьевых каналов для сжигания топлива;

Деталь №28 - окна забора воздуха дутьевых каналов для сжигания топлива;

Деталь №29 - окно забора воздуха дутьевого канала для установки внутри сжигаемого топлива;

Деталь №30 - перемычки для ограничения прохода воздуха из дутьевых каналов для сжигания топлива в дутьевой канал для установки внутри сжигаемого топлива

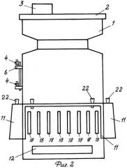
На чертеже №1 изображен вид спереди печи без воздухозаборных щитов.

Детали №1-22.

На чертеже №2 изображен вид сбоку и сзади печи без воздухозаборных щитов.

Детали №1-22.

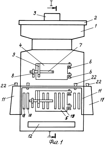
На чертеже №3 изображено:

1. Вид сверху печи с воздухозаборными щитами. Детали №2-21.

2. Вид снизу печи с воздухозаборными щитами. Детали №1-26.

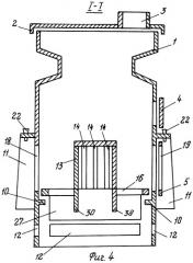
На чертеже №4 изображен разрез 1-1 печи без воздухозаборных щитов.

Детали №1-27.

На чертеже №5 изображен вид спереди печи с установкой воздухозаборных щитов.

Детали №1-23.

На чертеже №6 изображен вид сбоку и сзади печи с установкой воздухозаборных щитов.

Детали №1-23.

На чертеже №7 изображен разрез II-II печи с воздухозаборными щитами.

Детали №1-30.

На чертеже №8 изображен вид спереди корпуса печи.

Детали №1-25.

На чертеже №9 изображен вид сбоку и сзади корпуса печи.

Детали №1-22.

На чертеже №10 изображено:

1. Вид спереди и сзади дутьевого канала для установки внутри сжигаемого топлива, И дутьевых каналов для сжигания топлива.

Детали №13-30.

2. Вид сбоку дутьевого канала для установки внутри сжигаемого топлива, И дутьевых каналов для сжигания топлива.

Детали №13-27.

На чертеже №11 изображено:

1. Вид сверху дутьевого канала для установки внутри сжигаемого топлива. И дутьевых каналов для сжигания топлива.

Детали №13-17.

2. Разрез III-III дутьевого канала для установки внутри сжигаемого топлива.

И дутьевых каналов для сжигания топлива.

Детали №13-30.

На чертеже №12 изображено:

1. Вид сбоку дутьевого канала для сжигания топлива.

Детали №17 и 27.

2. Вид сверху дутьевого канала для сжигания топлива.

Детали №15; 16 и 17.

На чертеже №13 изображено:

1. Вид спереди и сзади дутьевого канала для сжигания топлива.

Детали №15; 27 и 28.

2. Разрез IV-IV дутьевого канала для сжигания топлива.

Детали №15-27.

На чертеже №14 изображено:

1. Вид спереди и сзади, в сборе, дутьевого канала для установки внутри сжигаемого топлива. И дутьевых каналов для сжигания топлива.

Детали №13-30.

2. Вид сверху, в сборе, дутьевого канала для установки внутри сжигаемого топлива. И дутьевых каналов для сжигания топлива. Детали №13; 15 и 16.

На чертеже №15 изображено:

1. Вид сбоку, в сборе, дутьевого канала для установки внутри сжигаемого топлива. И дутьевых каналов для сжигания топлива.

Детали №13-27.

2. Разрез V-V, в сборе, дутьевого канала для установки внутри сжигаемого топлива. И дутьевых каналов для сжигания топлива.

Детали №13-30.

На чертеже №16 изображен вид снизу дутьевого канала для установки внутри сжигаемого топлива. И дутьевого канала для сжигания топлива.

Детали №13-30.

На чертеже №17 изображено:

1. Вид спереди дверей печи для загрузки топлива в топку печи и для удаления сгоревшего топлива из топки печи.

Детали №4-19.

2. Вид спереди, вид сбоку и разрез VI-VI воздухозаборных щитов. Детали №20

На чертеже №18 изображено:

1. Вид сверху крышки печи. Детали №2 и 3.

2. Разрез VII-VII крышки печи.

Деталь №2.

3. Вид спереди, сзади и сбоку шплинта для закрепления воздухозаборных щитов на корпусе печи.

Деталь №22.

На чертежах №1-18 изображена печь для сжигания низкосортного каменного угля.

Основными деталями печи являются:

1. Корпус печи,

2. Крышка корпуса печи,

3. Дверцы печи,

4. Дутьевой канал для установки внутри сжигаемого топлива,

5. Дутьевые каналы для сжигания топлива,

6. Воздухозаборные щиты печи,

7. Шплинты для закрепления воздухозаборных щитов на корпусе печи.

Корпус печи делается прямоугольной формы.

Внутренняя длина печи 60 см.

Внутренняя ширина печи 60 см.

Высота печи 86 см.

Корпус печи делается из чугуна.

Толщина стенки корпуса печи 6 мм. На высоте 25 см на корпусе печи делаются колосниковые решетки. Колосниковые решетки на корпусе печи делаются высотой 20 см. Толщина стенки корпуса печи в месте расположения колосниковых решеток делается 16 мм. (см. чертежи №8 и 9. Детали №1 и 18.)

В корпусе печи делается два окна:

1. Окно для загрузки топлива в топку печи.

2. Окно для удаления сгоревшего топлива из топки печи.

(см. чертеж №8. Детали №1; 24 и 25)

Длина окна для загрузки топлива 20 см. Высота - 14 см.

Длина окна для удаления сгоревшего топлива из топки печи 20 см. Высота окна - 20 см.

В корпусе печи делается четыре окна для забора воздуха в топку сжигаемого топлива, (см. чертежи №7; 8 и 9. Детали №1 и 12)

Внутри корпуса печи делают две полки для установки дутьевого канала внутри сжигаемого топлива и дутьевых каналов для сжигания топлива. (См. чертежи №3; 4 и 7. Детали №1 и 10). Длина полки 60 см. Ширина полки 25 мм. Толщина полки 20 мм.

По всему периметру на корпусе печи делаются колосниковые решетки (см. чертежи №1; 2 и 9. Детали №1 и 18).

Высота дутьевых отверстий колосниковых решеток на корпусе печи 20 см. Ширина дутьевых отверстий 1 см. Расстояние между центрами отверстий 3 см.

Низ дутьевых отверстий, колосниковых решеток на корпус делается на высоте 25 см. Верх дутьевых отверстий делается на высоте 45 см. (см. чертежи №1; 2 и 9. Детали №1 и 18)

На корпусе печи делаются четыре полки для установки воздухозаборных щитов (см. чертеж №1; 2; 8 и 9. Детали №1 и 11).

Толщина стенки полки 5 мм. Высота полки 29 см. Низ полки делается на высоте 20 см. Верх полки на высоте 49 см. Длина полки равна длине корпуса печи. Ширина верхней части полки равна 10 см. Ширина нижней части полки равна 12 см. (см. чертеж №4 и 7. Деталь №11). На полках корпуса печи делаются отверстия для установки воздухозаборных щитов, (см. чертеж №3. Деталь №21).

На высоте 70 см корпус печи сужается на 20 см.

Внутренняя длина корпуса печи в суженном участке равна 40 см. Внутренняя ширина корпуса печи в суженном участке равна 40 см. (см. чертежи №4 и 7. Деталь №1.)

Крышка печи делается из чугуна. Толщина стенки крышки печи 5 мм. (см. чертеж №18. Детали №2 и 3).

Дверцы печи делаются из чугуна. Толщина стенки дверцы печи 6 мм. Длина дверцы печи для загрузки топлива 22 см. Высота дверцы печи 16 см.

Длина дверцы печи для удаления сгоревшего топлива из топки печи 22 см. Высота дверцы печи 22 см.

На дверце печи для удаления сгоревшего топлива из топки печи делаются дутьевые отверстия. Высота дутьевых отверстий 20 см. Ширина дутьевых отверстий 1 см. Расстояние между центрами отверстий 3 см. (см. чертеж №17. Детали №5 и 19).

В топки печи устанавливаются три дутьевых канала для сжигания топлива и один дутьевой канал внутри сжигаемого топлива. (см. чертежи №7; 14 и 15. Детали №13 и 15).

Дутьевой канал для установки внутри сжигаемого топлива устанавливается в центре дутьевого канала для сжигания топлива.

Он разделяет дутьевой канал для сжигания топлива на две равные части (см. чертежи №11 и 16. Детали №13 и 15).

Дутьевой канал для установки внутри сжигаемого топлива и дутьевой канал для сжигания топлива состоят из четырех деталей:

1. Дутьевой канал для установки внутри сжигаемого топлива. Деталь №13.

2. Дутьевой канал для сжигания топлива. Деталь №15.

3. Стенки дутьевых каналов для сжигания топлива. Деталь №27.

4. Перемычки для ограничения прохода воздуха из дутьевых каналов для сжигания топлива в дутьевой канал для установки внутри сжигаемого топлива. Деталь №30.

Четыре детали печи №13; 15; 27 и 30 делаются из чугуна монолитными (см. чертежи №4; 7; 10; 11 и 16. Детали №13; 15; 27 и 30).

Дутьевой канал для установки внутри сжигаемого топлива делается прямоугольной формы.

Наружная длина канала 20 см.

Наружная ширина канала 20 см.

Высота дутьевого канала 22 см.

Толщина стенки дутьевого канала 16 мм.

По всему периметру дутьевого канала делаются дутьевые отверстия. Высота дутьевых отверстий 20 см. Ширина дутьевых отверстий 1 см. Расстояние между центрами отверстий 3 см. (см. чертежи №4; 7; 10; 11 и 15. Детали №13 и 14).

Дутьевой канал для сжигания топлива делается прямоугольной формы.

Длина дутьевого канала 59 см. Ширина дутьевого канала 20 см.

Толщина дутьевого канала 22 мм.

В дутьевом канале для сжигания топлива делаются дутьевые отверстия.

Длина дутьевых отверстий 17 см. Ширина дутьевого отверстия 1 см.

Расстояние между центрами отверстий 3 см.

(см. чертежи №11 и 16. Детали №16 и 15).

Длина стенки, дутьевых каналов для сжигания топлива 53 см.

Высота стенки 12 см. Толщина стенки дутьевых каналов 5 мм.

(см. чертежи №10; №12; №13 и №14. Детали №15-27).

Высота перемычки между дутьевым каналом для установки внутри сжигаемого топлива и между дутьевым каналом для сжигания топлива 10 см.

Ширина перемычки 19 см. Толщина стенки перемычки 5 мм. (см. чертежи №4; 7; 11; 15; 16. Деталь №30).

В топке печи устанавливается три дутьевых канала для сжигания топлива и один дутьевой канал внутри сжигаемого топлива (см. чертежи №7; 14; 15. Деталь №13 и 15).

Один дутьевой канал делается монолитным с дутьевым каналом для установки внутри сжигаемого топлива (см. чертежи №10; 11; 16. Детали 13 и 15).

Дутьевые каналы для сжигания топлива, изображенные на чертежах № 12 и 13, делаются из чугуна, монолитные. Длина дутьевых каналов 59 см, ширина дутьевых каналов 19 см. Толщина дутьевых каналов 22 мм.

В дутьевых каналах для сжигания топлива делаются дутьевые отверстия. Длина дутьевых отверстий - 26 см. Ширина - 1 см. Расстояние между центрами отверстий 3 см. (см. чертежи №12 и 13. Детали №15 и 16).

Длина стенки дутьевых каналов для сжигания топлива 53 см, высота стенки 12 см. Толщина стенки дутьевых каналов 5 мм. (см. чертежи №12 и 13. Детали №15 и 27).

В дутьевых каналах для сжигания топлива делаются опорные полки. Длина опорной полки равна ширине дутьевого канала (19 и 20 см.). Толщина опорной полки 22 мм. (см. чертеж №12 и 13. Деталь №17).

Установка в топке печи дутьевых каналов для сжигания топлива и дутьевого канала внутри сжигаемого топлива изображена на чертежах №3 и 14. Детали №13 и 15.

Воздухозаборные щиты печи делаются из кровельного железа толщиной 1 мм. Длина полки печи 612 мм. Высота полки печи 29 см. Внутренняя длина воздухозаборного щита 614 мм. Высота воздухозаборного щита 29 см. (см. чертежи №7 и 17. Деталь №20).

Сверху на воздухозаборных щитах делаются отверстия для установки воздухозаборных щитов на полках корпуса печи. Диаметр отверстия 10 мм. (см. чертеж №3. Детали №20 и 21).

Воздухозаборные щиты закрепляются на полках корпуса печи шплинтами. Диаметр шплинта 8 мм. (см. чертежи №7 и №. Деталь №22).

Сборка печи производится в следующей последовательности:

1. Дутьевые каналы для сжигания топлива, деталь №15, сверху корпуса печи опускаются вниз печи. Через окно корпуса печи, деталь №25, устанавливаются на полке в корпусе печи. (см. чертеж №3 и 7. Детали №1; 10 и 15).

2. Дутьевой канал для сжигания топлива и дутьевой канал внутри сжигаемого топлива, детали №15 и 13, сверху корпуса печи опускаются вниз печи. Через окно корпуса печи, деталь№ 25, устанавливаются на полке в корпусе печи.(см. чертеж №3 и 7. Деталь №1; 10; 13; 15).

3. Дверцы печи устанавливаются на кронштейны печи (см. чертеж №1. Детали №4; 5 и 6).

4. Воздухозаборные щиты печи, деталь №20, устанавливаются на полках корпуса печи.(см. чертежи №1; 6 и 7. Детали №11 и 20).

Воздухозаборные щиты печи закрепляются на полках корпуса печи шплинтами (см. чертежи №1; 6 и 7. Детали №11; 20 и 22).

Закрепление шплинтами воздухозаборных щитов на полках корпуса печи производится через отверстия, изображенные на чертеже №3. Деталь №21.

5. Крышка печи с патрубком устанавливается на корпусе печи (см. чертежи №1; 2 и 1. Детали №1; 2; 3.).

Дутьевой канал, установленный внутри сжигаемого топлива в топке печи, занимает 11,1% площади поперечного сечения топки печи. (см. чертеж №3. Деталь №13).

Длина топки печи 60 см. Ширина 60 см. Площадь топки печи равна 3600 см.кв. 60 см. × 60 см. = 3600 см.кв.

Один процент топки печи равен 36 см.кв.

Длина дутьевого канала, установленного внутри сжигаемого топлива в топке печи, равна 20 см. Ширина 20 см. Площадь дутьевого канала равна 400 см.кв. 20 см. × 20 см. = 400 см.кв. 400 см.кв. / 36 см.кв. = 11,1%.

Площадь загрузки топлива в топку печи равна 88,9% 100%-11,1% = 88,9%.

Загрузка топлива в топку печи производится через окно корпуса печи. (см. чертеж №8. Деталь № 24).

Удаление сгоревшего топлива из топки печи производится через окно корпуса печи (см. чертеж №8. Деталь №25).

Чистка топки печи производится через окна забора воздуха корпуса печи (см. чертежи №5; 6 и 7. Деталь №12).

В целях противопожарной безопасности для сжигания топлива печь устанавливается на асбестовую площадку, покрытую кровельным железом.

Высота дутьевого канала для установки внутри сжигаемого топлива 22 см. (см. чертеж №4; 7. Деталь №13).

При сжигании топлива топка печи заполняется на 5 см выше дутьевого канала (см. чертеж №4; 7. Деталь №13).

Высота сжигаемого топлива в топке печи 27 см. (см. чертеж №4; 7. Деталь №13).

В настоящее время для сжигания твердого топлива применяются солдатские и садовые печи.

Для сжигания твердого топлива в существующих топках печей делается дутьевой канал, равный площади поперечного сечения топки печи, и колосники.

В существующих топках печей сжигание твердого топлива производится через дутьевой канал, равный площади поперечного сечения печи, и через колосники.

Сжигание топлива производится в следующей последовательности:

Воздух для сжигания топлива в топке печи поступает в дутьевой канал, равный площади поперечного сечения печи. Из дутьевого канала воздух через колосники поступает в топку сжигаемого топлива.

Колосники устанавливаются на площади поперечного сечения печи. Следовательно, в существующих топках печей воздух для сжигания топлива поступает в топку печи через колосники с площадью поперечного сечения печи.

В дутьевом канале печи воздух медленно нагревается. Также медленно воздух из дутьевого канала печи через колосники проходит в топку сжигаемого топлива. Поэтому в существующих топках печей сгорание твердого топлива производится до 70%, чтобы сжечь каменный уголь в топке печи через колосники нужно принудительное дутье или устройство дополнительной тяги. Без принудительного дутья и без устройства дополнительной тяги каменный уголь в топке печи через колосники не горит.

В предлагаемой топке печи, изображенной на чертежах № 1-18, сжигание твердого топлива производится через дутьевой канал, равный площади поперечного сечения печи.

Через дутьевой канал, установленный внутри сжигаемого топлива.

Через дутьевые отверстия в дутьевых каналах для сжигания топлива.

И через дутьевые отверстия колосниковой решетки на корпусе печи (см. чертежи №1; 2; 4; 7. Детали №13; 16 и 18).

Сжигание топлива производится в следующей последовательности:

Воздух для сжигания топлива в топке печи, через окно забора воздуха поступает в дутьевой канал, равный площади поперечного сечения печи. (см. чертежи №1; 2; 4 и 7. Деталь №12).

Из дутьевого канала, равного площади поперечного сечения печи, воздух поступает:

1. В окно забора воздуха дутьевых каналов для сжигания топлива. Деталь №28.

2. В окно забора воздуха дутьевого канала внутри сжигаемого топлива. Деталь №29 (см. чертежи №7; 10; 14 и 15. Деталь №28 и чертежи №11 и 16. Деталь №29).

Из дутьевых каналов для сжигания топлива воздух через дутьевые отверстия поступает в топку сжигаемого топлива (см чертежи №7, 14 и 15. Деталь №16).

Из дутьевого канала, установленного внутри сжигаемого топлива, воздух через дутьевые отверстия поступает в топку сжигаемого топлива (см. чертежи №4, 7 и 15. Деталь №14).

Через окна забора воздуха колосниковых решеток корпуса печи деталь №23 воздух поступает в дутьевые каналы колосниковых решеток корпуса печи. Деталь №26. Окна забора воздуха указаны стрелками. (см. чертежи №3; 6 и 7. Детали №1; 20; 23 и 26).

Из дутьевых каналов колосниковых решеток корпуса печи, деталь №26, воздух через дутьевые отверстия колосниковых решеток на корпусе печи, деталь№18, поступает в топку сжигаемого топлива (см. чертежи №1; 2; 4 и 7. Детали №1; 18 и 26).

Дутьевые каналы колосниковых решеток корпуса, деталь №26, создают воздухозаборные щиты, деталь№20, установленные на полки корпуса печи, деталь №11. (см. чертежи №1; 2; 4 и 7. Детали №1; 11; 20 и 26).

Внутренняя длина воздухозаборного щита 614 мм. Высота воздухозаборного щита 29 см.

Расстояние от стенки печи до стенки воздухозаборного щита равно:

1. В верхней части воздухозаборного щита 10 см.

2. В нижней части воздухозаборного щита 12 см. (см. чертеж №7. Детали №1 и 20).

Для сжигания твердого топлива в топке печи, изображенной на чертежах №1-18, воздух одновременно поступает в восемь дутьевых каналов печи:

1. Один дутьевой канал, установленный внутри сжигаемого топлива. Деталь №13.

2. Три дутьевых канала для сжигания топлива. Деталь №15 и 27.

3. Четыре дутьевых канала колосниковых решеток корпуса печи. Деталь №26.

Во всех дутьевых каналах воздух нагревается (см. чертежи №7 и 14, Детали №13; 15; 27 и 26).

Из дутьевых каналов через дутьевые отверстия, детали №14, 16 и 18, воздух быстро проходит в топку сжигаемого топлива и создает дополнительную тягу в топке печи.

Во время работы печи дверца для удаления сгоревшего топлива из топки печи, деталь №5, закрывается воздухозаборным щитом, деталь №20. (см. чертеж №5. Детали №20 и 22).

Дутьевой канал, установленный внутри сжигаемого топлива, деталь №13, и колосниковые решетки на корпусе печи, деталь №18, увеличивают поступление воздуха в топку сжигаемого топлива на 166%, что поясняется расчетом:

1. Длина топки печи 60 см. Ширина - 60 см. Площадь топки печи равна 60 см × 60 см = 3600 см.кв.

2. Длина дутьевого канала 20 см. Ширина - 20 см. Площадь дутьевого канала равна 20 см × 20 см = 400 см.кв.

3. Площадь топки печи с установкой дутьевого канала равна 3600 см.кв. - 400 см.кв. = 3200 см.кв.

4. Длина дутьевого канала 20 см. Ширина 20 см. Длина периметра дутьевого канала равна 20 см × 4 = 80 см.

Высота дутьевого канала равна 20 см. Площадь дутьевого канала равна 80 см × 20 см = 1600 см.кв.

5. Площадь поступления воздуха в топку печи с установкой дутьевого канала равна 3200 см. кв. + 1600 см. кв. = 4800 см. кв.

6. Дутьевой канал, установленный в топке печи, увеличивает площадь поступления воздуха топку сжигаемого топлива на 1200 см.кв. 4800 см.кв. - 3600 см.кв. = 1200 см.кв.

7. На корпусе печи делаются четыре колосниковые решетки. Длина колосниковой решетки 60 см. Высота 20 см. Площадь колосниковой решетки равна 60 см × 20 см = 1200 см кв. Площадь четырех колосниковых решеток равна 1200 см кв. × 4 = 4800 см кв.

8. Дутьевой канал, установленный в топке печи, и четыре колосниковые решетки на корпусе печи увеличивают площадь поступления воздуха в топку печи на 6000 см кв. 1200 см кв. + 4800 см кв. = 6000 см кв.

9. 100% площади топки печи равны 3600 см кв., 1% топки печи равен 36 см кв.

10. Дутьевой канал, установленный в топке печи, и четыре колосниковые решетки, сделанные на корпусе печи, увеличивают площадь поступления воздуха в топку сжигаемого топлива на 166%. 6000 см кв./36 см кв. = 166%.

Суженный корпус предлагаемой печи создает высокую температуру в топке печи.

Производит сжигание газов и топлива в топке печи (см. чертеж №7. Деталь №1).

Уровень техники

В настоящее время для теплоснабжения населения применяются садовые и солдатские печи, а также печи и камины, описанные в книгах фирмой Аделант.

Первую книгу фирма Аделант издала под названием «Печи и камины». Издание Москва, Аделант, 2000 год.

Вторую книгу фирма Аделант издала под названием «Камины и печи». Издание Москва, Аделант, 2002 год.

В существующих топках печей сжигание твердого топлива производится через дутьевой канал равный площади поперечного сечения топки печи и через колосники.

В каминах сжигание твердого топлива производится так же как в топках существующих печей.

В дутьевых каналах печей и каминов воздух медленно нагревается. Также медленно воздух из дутьевых каналов печей и каминов через колосники проходит в топки сжигаемого топлива печей и каминов.

Поэтому в существующих топках печей и каминов сгорание твердого топлива производится до 70%.

30% несгоревшего топлива из топок печей и каминов безвозвратно выбрасывается на улицу.

В настоящее время в России 60 миллионов людей снабжаются теплом ТЭЦ и газовым отоплением.

65 миллионов людей отапливаются солдатскими и садовыми печами, а также печами и каминами, описанными в книгах фирмой Аделант. Издание Москва, Аделант, 2000 и 2002 гг.

Только в России за один год из топок солдатских и садовых печей и печей и каминов фирмы Аделант более 300000 т несгоревшего топлива безвозвратно выбрасывается на улицу.

Сущность изобретения

Печь для сжигания низкосортного каменного угля. С установкой дутьевого канала внутри сжигаемого топлива. С установкой дутьевых каналов для сжигания топлива. С устройством колосниковых решеток на корпусе печи.

В предлагаемой топке печи, изображенной на чертежах №1-18, сжигание твердого топлива производится через восемь дутьевых каналов.

Восемь дутьевых каналов печи увеличивают поступление воздуха в топку сжигаемого топлива на 166%.

В дутьевых каналах печи воздух быстро нагревается, быстро проходит через сжигаемое топливо в топке печи.

Создает дополнительную тягу в топке сжигаемого топлива.

Усеченный корпус печи создает высокую температуру в топке сжигаемого топлива.

Производит сжигание газов и топлива в топке печи. (см. чертеж №1 и 4. Деталь №1).

В существующих топках печей и каминов каменный уголь среднего сорта сгорает до 40%. 60% несгоревшего каменного угля из топок печей и каминов безвозвратно выбрасывается на улицу.

В таких же условиях такой же каменный уголь в предлагаемой топке печи, изображенной на чертежах №1-18, сгорает до 100%.

В настоящее время для теплоснабжения населения применяются печи и камины. В существующих топках печей и каминов сжигание твердого топлива производится через дутьевой канал, равный площади поперечного сечения печи или камина, и через колосники печи или камина.

Чтобы сжечь подмосковный каменный уголь в топках существующих печей или каминов, требуется принудительное дутье или устройство дополнительной тяги. Без принудительного дутья и без устройства дополнительной тяги подмосковный каменный уголь в топках существующих печей и каминов не горит.

В предлагаемой топке печи, изображенной на чертежах №1-18, сжигание твердого топлива производится через восемь дутьевых каналов.

Поступление воздуха в топку сжигаемого топлива увеличивается на 166%. Усеченный корпус печи создает высокую температуру в топке сжигаемого топлива. Производит сжигание газов и топлива в топке печи.

В предлагаемой топке печи, изображенной на чертежах №1-18, подмосковный уголь сгорает без принудительного дутья и без устройства дополнительной тяги.

Поэтому, печь, изображенная на чертежах №1-18, необходима для теплоснабжения народов Севера и Сибири.

Для теплоснабжения солдат, находящихся в окопах.

Для всех людей, которым необходима защита от замерзания.

В Якутии, Сибири или в Московской области в топке печи, изображенной на чертежах №1-18, каменный уголь сгорает через форточку жилого дома.

Сведения, подтверждающие возможность осуществления изобретения

Предлагаемая печь, изображенная на чертежах №1-18, содержит 30 деталей печи. Основными деталями печи являются:

1. Корпус печи деталь №1.

2. Дутьевой канал для установки внутри сжигаемого топлива. См. чертежи №7; 10 и 11. Детали №13 и №1.

3. Дутьевые отверстия в дутьевом канале для установки внутри сжигаемого топлива. См. чертежи №7; 10; 11 и 14, деталь №14.

4. Дутьевые каналы для сжигания топлива. См. чертежи №10, 11; 13; 14; 15; 16. Деталь №15.

5. Дутьевые отверстия в дутьевых каналах для сжигания топлива. См. чертежи №3; 4; 7; 12; 14; 15; 16. Деталь №16.

6. Дутьевые отверстия, колосниковой решетки, на корпусе печи. См. чертежи №1; 2; 7; 9. Деталь №18.

7. Дутьевые отверстия на дверце печи для удаления сгоревшего топлива. См. чертежи №1 и 17. Деталь №19.

8. Воздухозаборные щиты печи. См. чертежи №3; 5; 6; и 7. Деталь №20.

9. Окна забора воздуха для колосниковых решеток на корпусе печи. См. чертежи №5; 6; 7. Деталь №23.

10. Дутьевые каналы колосниковых решеток на корпусе печи. См. чертежи №3 и 7. Деталь №26.

11. Стенки дутьевых каналов для сжигания топлива. См. чертежи №4; 7; 10; 12; 13; 14 и 15. Деталь №27.

12. Окна забора воздуха дутьевых каналов для сжигания топлива. См. чертежи №7; 10; 13; 14; 15. Деталь №.28.

13. Окна забора воздуха дутьевого канала для установки внутри сжигаемого топлива. См. чертеж №11. Деталь №29.

14. Перемычки для ограничения прохода воздуха из дутьевых каналов для сжигания топлива в дутьевой канал для установки внутри сжигаемого топлива. См. чертеж №7; 10; 14 и 15. Деталь №30.

Внутри корпуса печи устанавливаются четыре дутьевых канала.

1. Дутьевой канал для установки внутри сжигаемого топлива. См. чертежи №7; 10; 11; 14; 15. Деталь №13.

2. Три дутьевых канала для сжигания топлива. См. чертежи №10, 11; 14; 15. Деталь №15.

3. На корпусе дутьевого канала, для установки внутри сжигаемого топлива делаются дутьевые отверстия для поступления воздуха из дутьевого канала в топку сжигаемого топлива печи. См. чертежи №7; 10;11 и 15. Деталь №14.

4. В дутьевых каналах для сжигания топлива делаются дутьевые отверстия для поступления воздуха из дутьевых каналов в топку сжигаемого топлива печи. См. чертежи №7; 11; 12; 13; 14; 15. Деталь №16.

5. Стенки дутьевых каналов для сжигания топлива противодействуют провисанию дутьевых каналов и создают окна забора воздуха дутьевых каналов для сжигания топлива. См. чертежи №7; 10; 11; 14; 15. Детали №27 и 28.

6. Перемычки для ограничения прохода воздуха из дутьевых каналов для сжигания топлива, в дутьевой канал для установки внутри сжигаемого топлива производят равномерное поступление воздуха во все каналы. См. чертежи №7; 10; 11; 15. Детали №29 и 30.

7. На корпусе печи делаются четыре колосниковые решетки. См. чертежи №1; 2; 4 и 7. Деталь №18.

8. На корпусе печи устанавливаются четыре воздухозаборных щита. См. чертежи № 6 и 7. Деталь №20.

9. Воздухозаборные щиты, установленные на корпусе печи, создают дутьевые каналы для колосниковых решеток на корпусе печи. См. чертеж № 7. Деталь №26.

10. Дутьевой канал, установленный в топки печи, и четыре колосниковые решетки, сделанные на корпусе печи, увеличивают площадь поступления воздуха в топку сжигаемого топлива на 166%. См. чертежи №1; 2; 4; 7; 9; 10; 11; и 16. Детали №13; 14 и 18.

11. Усеченный корпус печи создает высокую температуру в топке печи, производит сжигание газов и топлива в топке печи. См. чертежи №1, 4 и 7. Деталь №1.

Сжигание топлива производится в следующей последовательности.

Воздух для сжигания топлива в топке печи через окна забора воздуха поступает в дутьевой канал, равный площади поперечного сечения топки печи. См. чертежи №1; 2; 4 и 7. Деталь №12.

Из дутьевого канала, равного площади поперечного сечения топки печи, воздух поступает:

1. В окна забора воздуха дутьевых каналов для сжигания топлива. Деталь №28.

2.В окно забора воздуха дутьевого канала внутри сжигаемого топлива. Деталь

№29. См. чертежи №7; 10; 14 и 15. Деталь №28.И чертежи №11 и 16. Деталь №29.

3. Из дутьевых каналов для сжигания топлива воздух через дутьевые отверстия поступает в топку сжигаемого топлива. Смотри чертежи №7; 14 и 15. Деталь №16.

4. Из дутьевого канала, установленного внутри сжигаемого топлива, воздух через дутьевые отверстия поступает в топку сжигаемого топлива.

См. чертежи №4; 7 и 15. Деталь №14.

5. Одновременно через окна забора воздуха колосниковых решеток корпуса печи, деталь №23, воздух поступает в дутьевые каналы колосниковых решеток корпуса печи. Деталь №26.

Окна забора воздуха, деталь №23, на чертежах указаны стрелками.

См. чертежи №3; 6 и 7. Детали №1; 20; 23 и 26.

6. Из дутьевых каналов колосниковых решеток корпуса печи, деталь №26, воздух через дутьевые отверстия колосниковых решеток на корпусе печи, деталь №18 поступает в топку сжигаемого топлива.

См. чертежи №1; 2; 4 и 7. Детали №1; 18 и 26.

7. В дутьевых каналах для сжигания топлива. Деталь №28.

В дутьевом канале внутри сжигаемого топлива. Деталь №29.

И в дутьевых каналах колосниковых решеток корпуса печи, деталь №26, воздух быстро нагревается.

См. чертежи №7; 10; 11 и 16. Детали №28; 29 и 26.

8. Из дутьевых каналов печи через дутьевые отверстия, детали №14; 16 и 18, воздух быстро проходит в топку сжигаемого топлива и создает дополнительную тягу в топке печи.

См. чертежи №1; 2; 3; 4 и 7. Детали №14; 16 и 18.

9. Для сжигания твердого топлива в топке печи, изображенной на чертежах №1-18, воздух одновременно поступает в восемь дутьевых каналов печи:

1. Один дутьевой канал, установленный внутри сжигаемого топлива. Деталь №13.

2. Три дутьевых канала для сжигания топлива. Деталь №15; 27 и 28.

3. Четыре дутьевых канала, колосниковых решеток на корпусе печи. Деталь №26. См. чертежи №3; 7 и 10. Детали №13; 15; 27; 28 и 26.

10. Дутьевой канал, установленный внутри сжигаемого топлива, деталь №13; 14, и колосниковые решетки на корпусе печи, деталь №18, увеличивают поступление воздуха в топку сжигаемого топлива на 166%.

См. чертежи №1; 2; 4; 7; 9; 10; 11 и 16. Детали № 13; 14 и 18.

11. Усеченный корпус печи, изображенный на чертежах №1-18, создает высокую температуру в топке печи. Производит сжигание газов и топлива в топке печи, см. чертеж №7. Деталь №1.

Сжигание твердого топлива в топке печи производит воздух (кислород), поступающий в топку сжигаемого топлива.

В настоящее время для теплоснабжения населения применяются солдатские и садовые печи.

И печи и камины, описанные в книгах фи