ФЕРРЕРО РУБИНЕТТЕРИЕ С.Р.Л. (IT)
ФЕРРЕРО РУБИНЕТТЕРИЕ С.Р.Л. (IT) является правообладателем следующих патентов:

Система ручного и автоматического привода для клапана и комплектующий набор для них
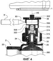
Группа изобретений относится к арматуростроению и предназначена для использования в качестве комбинированного привода клапана в системах подачи текучей среды. Приводная система содержит сервомотор (1), клапан (2) и соединяющий их узел (3'). Узел (3') содержит соединительный вал (50'), имеющий отверстие (506), предназначенное для введения в него конца рычага (6'). При введении рычага (6') в канал,...
2406905
Разветвитель для текучих сред
Изобретение относится к трубопроводной арматуре, в частности к разветвителю для текучих сред, содержащему быстродействующие элементы, охватываемый элемент или охватывающий элемент, в котором один из этих элементов, в частности охватывающий элемент, содержит кольцевую защитную оболочку, предназначенную для защиты соединительного охватываемого элемента от неумелого обращения или повреждения после с...
2406912