Разветвитель для текучих сред

Иллюстрации

Показать все

Изобретение относится к трубопроводной арматуре, в частности к разветвителю для текучих сред, содержащему быстродействующие элементы, охватываемый элемент или охватывающий элемент, в котором один из этих элементов, в частности охватывающий элемент, содержит кольцевую защитную оболочку, предназначенную для защиты соединительного охватываемого элемента от неумелого обращения или повреждения после сборки соединения. Поскольку разветвитель имеет простую конструкцию, его можно изготавливать из пластмассового или металлического материала. Изобретение повышает надежность соединения. 5 з.п. ф-лы, 5 ил.

Реферат

Данное изобретение относится к разветвителю для текучих сред, содержащему, по меньшей мере, одно быстродействующее соединение, выполненное с возможностью соединения с другими разветвителями, трубными фитингами, трубопроводами и гидравлическими устройствами обычно для подачи текучих сред.

В частности, данное изобретение относится к разветвителям, содержащим блокировочные быстродействующие соединения, выполненные с возможностью подачи различных текучих сред, таких как вода, масло, сжатый воздух или т.п., в домах или промышленных структурах.

В данном описании понятие «разветвитель» используется для обозначения устройств для подачи текучих сред, содержащих основной вход и основной выход (впускной проход и выпускной проход), естественно, взаимозаменяемые друг с другом, и один или несколько боковых выходов (отводов), обычно имеющих меньшие размеры, для обеспечения потока текучей среды или контролирования параметров текучей среды (температуры, пропускной способности и т.д.).

Разветвители такого вида обычно используются для подачи текучих сред в жилых помещениях.

Например, в случае отопительных систем здания, такие разветвители используются для приема на своем основном входе трубопровода горячей воды, приходящей из бойлерной, и для подачи воды в несколько нагревательных тел (радиаторных панелей или нагревателей, труб и т.д.) через отводы здания.

Обычно разветвители соединяют друг с другом на их выходе для обеспечения подачи воды в несколько отводов.

Такие разветвители можно также использовать, например, для подачи воды для коммунально-бытового водоснабжения или сжатого воздуха и/или различных текучих сред.

Уровень техники

Быстродействующие соединения и разветвители, снабженные быстродействующими соединениями, известны из уровня техники.

Например, разветвитель, известный из опубликованного патента WO 01/71236, снабжен быстродействующим соединением блокировочного типа, в котором предусмотрены охватываемый элемент и соответствующий охватывающий элемент на основном входе и основном выходе (выходе), подходящие для соединения или сцепления посредством блокировки с другими разветвителями или гидравлическими устройствами с помощью быстрого соединения. Охватываемый элемент и охватывающий элемент снабжены соответствующими выступами, состоящими из двух кольцевых участков, подходящих для соединения с блокировкой посредством введения охватываемого элемента в охватывающий элемент и последующего поворота элементов относительно друг друга приблизительно на 90°.

Согласно уровню техники, выступы различимы (видны) для обеспечения простого распознавания оператором правильного взаимного соединения, например, нескольких разветвителей.

Недостатком уровня техники является то, что выступы, выступающие за контур соединения, могут подвергаться ударам и повреждениям перед и во время сборки.

Кроме того, после сборки выступов, в частности, выступов охватывающего элемента, поскольку они всегда выступают из контура соединения, могут быть разрушены или повреждены вследствие случайных ударов, а также отсоединены от соединения.

Из патента WO 97/33698 известен также пример выполнения распылительной головки с соответствующим быстродействующим соединением.

Соединение является особенно сложным и содержит охватываемый и охватывающий элементы, подходящие для соединения друг с другом посредством блокировки.

В этом случае охватываемый элемент и охватывающий элемент, при этом последний снабжен защитой, содержат соответствующие спиральные ребра. Посредством поворота одного из ребер относительно друг друга два уплотнения, внутреннее и наружное, предусмотренные на соединении, сжимаются, и обеспечивается герметичное для жидкости соединение посредством сжатия уплотнений в осевом направлении относительно соединения.

Поворот одного ребра относительно другого контролируется с помощью механического упора, расположенного внутри ребра охватывающего элемента.

Первым недостатком соединения этого вида является то, что относительный поворот охватываемого элемента относительно охватывающего элемента контролируется с помощью механического упора в охватывающем элементе, при этом охватывающий элемент снабжен защитой, и поэтому возможное загрязнение механического упора может предотвращать полное закрывание соединения.

Другим недостатком соединений этого вида является их особая сложность, и поэтому, как указано в патенте, они могут быть изготовлены лишь из пластмассового материала посредством литья. Действительно, соединение этого вида имеет настолько сложные признаки структуры, что его изготовление из металла не представляется возможным.

В целом заявителем установлено, что известные быстродействующие соединения:

- в первом случае снабжены выступами, которые делают их не достаточно надежными или легко повреждаемыми; и

- во втором случае, когда выступы снабжены защитой, не видны механические упоры, что не позволяет проверять полное закрывание соединения.

Сущность изобретения

Целью данного изобретения является устранение указанных выше недостатков уровня техники.

Согласно данному изобретению, эта цель достигнута с помощью разветвителя для текучих сред, имеющего признаки, согласно прилагаемой формуле изобретения.

Формула изобретения является частью предлагаемых, согласно изобретению, технических решений.

Согласно предпочтительному варианту выполнения, разветвитель содержит, по меньшей мере, один быстродействующий соединительный охватывающий элемент, имеющий защиту, подходящую для защиты выступов, и средства, подходящие для обеспечения безупречного закрывания соединения с возможностью проверки снаружи.

Согласно более предпочтительному варианту выполнения, по меньшей мере, один из отводов разветвителя расположен так, чтобы указывать безупречное закрывание соединения.

Согласно другому признаку данного изобретения, разветвитель может быть выполнен из металлического материала и изготавливаться посредством литья и токарной обработки.

Таким образом, заявляется разветвитель для текучих сред, содержащий основной вход (20) и основной выход (30) для текучей среды и, по меньшей мере, один отвод (11) для подачи указанной текучей среды или проверки параметров указанной текучей среды, содержащий, по меньшей мере, один быстродействующий соединительный охватывающий элемент (16), связанный с основным выходом (30) и подходящий для соединения во время использования с соответствующим быстродействующим соединительным охватываемым элементом (15) с обеспечением быстродействующего соединения; указанный разветвитель содержит быстродействующий соединительный охватываемый элемент (15), связанный с основным входом (20) и являющийся подходящим для соединения во время использования с соответствующим быстродействующим соединительным охватывающим элементом (16) с обеспечением быстродействующего соединения; указанный, по меньшей мере, один быстродействующий соединительный охватывающий элемент (16) содержит защитную оболочку (33), имеющую глубину, равную или большую длины указанного соединительного охватываемого элемента (15), и по существу кольцевую форму и выполненную с возможностью защиты во время использования указанного соответствующего быстродействующего соединительного охватываемого элемента (15); указанный разветвитель содержит, по меньшей мере, один ориентир соединения, видимый снаружи и выполненный с возможностью обеспечения визуальной проверки быстродействующего соединения; охватываемый элемент (15) дополнительно содержит пару кольцевых охватываемых участков (26) и охватываемое кольцеобразное углубление (27), подходящие для взаимодействия с соответствующей парой кольцевых охватывающих участков (36) и соответствующим кольцеобразным охватывающим углублением (37); указанная защитная оболочка (33) выполнена внутри так, что содержит, начиная с внутренней части, охватывающее углубление (37), пару охватывающих участков (36) и по существу плоскую внутреннюю поверхность оболочки (33), проходящую наружу основного выхода (30); пары охватываемых участков 26 и охватывающих участков (36) проходят в виде круга или радиально по круговому сектору около 90° и расположены так, что их оси симметрии выровнены с первым отводом (11) для того, чтобы быть расположеными в идентичных положениях относительно указанного первого отвода (11); при этом два из указанных разветвителей (10) могут быть соединены за счет ориентирования одного отвода (11) первого разветвителя (10) под углом 90° относительно первого отвода (11) второго разветвителя (10), приложения по существу осевого усилия подходящего для обеспечения посадки охватываемого элемента (15) первого разветвителя (10) в охватывающий элемент (16) второго разветвителя и поворачивания одного из двух разветвителей в любом направлении для выравнивания первого отвода (11) первого разветвителя с первым отводом (11) второго разветвителя.

Предпочтительно резьбовой элемент связан с основным входом (20) или основным выходом (30) или отводом (11).

Предпочтительно указанный, по меньшей мере, один отвод (11) расположен также как указанный, по меньшей мере, один видимый снаружи ориентир соединения.

Предпочтительно указанный соответствующий быстродействующий соединительный охватываемый элемент (15) содержит дополнительное круговое углубление (21) охватываемого элемента для размещения герметизирующего уплотнения.

Предпочтительно разветвитель изготовлен из металлического материала.

Предпочтительно разветвитель по п.5, отличающийся тем, что изготовлен посредством формования или ковки, или литья и последующей механической чистовой обработки.

Краткое описание чертежей

Эти и другие признаки данного изобретения следуют из приведенного ниже подробного описания предпочтительного варианта выполнения, не имеющего ограничительного характера, со ссылками на прилагаемые чертежи, на которых изображено:

фиг.1 - общий вид разветвителя для текучих сред, согласно данному изобретению;

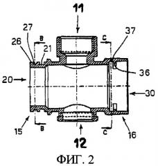
фиг.2 - продольный разрез разветвителя, согласно фиг.1;

фиг.3а, b - разрезы по линиям В-В и С-С на фиг.2; и

фиг.4 - продольный разрез двух соединенных разветвителей, согласно данному изобретению.

Подробное описание

Как показано на фиг.1, разветвитель 10 для текучих сред (разветвитель), согласно данному изобретению, содержит в качестве примера:

- быстродействующий соединительный охватываемый элемент (охватываемый элемент) 15, имеющий заданную длину и связанный, в качестве примера, с основным входом 20; и

- быстродействующий соединительный охватывающий элемент (охватывающий элемент) 16, связанный, в качестве примера, с основным выходом 30 разветвителя, предпочтительно коаксиальным с основным входом 20.

Охватываемый элемент 15 первого разветвителя 10 или гидравлического устройства и охватывающий элемент 16 второго разветвителя или гидравлического устройства обеспечивают при соединении быстродействующее соединение.

Кроме того, в предпочтительном варианте выполнения разветвитель 10 содержит первый отвод 11 для подачи текучих сред, и в альтернативном варианте выполнения, в качестве примера, второй отвод 12, как показано на фиг.2 и 4, или другие отводы.

В предпочтительном варианте выполнения первый и второй отводы 11 и 12 снабжены резьбой известного вида для обеспечения соединения с соответствующей резьбой, например, труб или трубных фитингов. Однако эти отводы могут быть также снабжены элементами быстродействующего соединения, согласно данному изобретению.

В предпочтительном варианте выполнения охватываемый элемент 15 содержит седло уплотнения 21 (фиг.1-4), имеющее в качестве примера прямоугольную форму и выполненное с возможностью размещения тороидального уплотнения (уплотнения) 17. Уплотнение, как будет подробно описано далее, выполнено с возможностью обеспечения непроницаемого для текучей среды соединения известным образом.

В предпочтительном варианте выполнения охватываемый элемент 15 дополнительно содержит пару кольцевых охватываемых участков (ребер охватываемого элемента) 26 и охватываемое кольцеобразное углубление (охватываемое углубление) 27, имеющее в качестве примера прямоугольное поперечное сечение, подходящие для взаимодействия известным образом с соответствующей парой кольцевых охватывающих участков (ребер охватывающего элемента) 36 и соответствующим кольцеобразным охватывающим углублением (охватывающим углублением) 37 для осуществления соединения, согласно изобретению. Пары ребер, соответственно, охватываемых ребер 26 и охватывающих ребер 36, проходят, например, в виде круга или радиально и проходят по круговому сектору около 90°, при этом ребра 26 и 27, соответственно, предназначены для соединения друг с другом, как будет подробно пояснено ниже, посредством поворота, например, охватываемого элемента 15 относительно охватывающего элемента 16 на около 90°.

Углубления 27 и 37 предназначены, соответственно, для размещения известным образом пар кольцевых участков 36 и 26, соответственно, и в предпочтительном варианте выполнения проходят, например, по всей окружности и не снабжены каким-либо механическим стопорным элементом.

Пара кольцевых участков или ребер, соответственно, охватываемых ребер 26 и охватывающих ребер 36, расположены, например, так, что их оси симметрии выровнены с первым отводом 11. Как показано в качестве примера на фиг.3а, пары ребер могут быть расположены симметрично относительно вертикальной оси.

В целом пары кольцевых участков или ребер выполнены так, что они расположены в идентичных положениях относительно первого отвода 11 или второго отвода 12, соответственно, или, по меньшей мере, относительно одного из отводов.

Этот вид конфигурации, как будет подробно пояснено ниже, позволяет полностью соединять охватываемый элемент 15 с охватываемым элементом 16 с использованием первого отвода 11 или второго отвода 12 разветвителя 10 в качестве ориентира соединения без необходимости механических стопорных элементов внутри разветвителя или выполнения элементов соединения в виде выступов.

Естественно, что в других вариантах выполнения ориентир соединения может быть связан с подходящими указателями, предусмотренными на разветвителе или на элементах, подлежащих соединению с разветвителем, и расположенными так, чтобы выдерживать заданное соотношение пары ребер, соответственно, охватываемого ребра 26 и охватывающего ребра 36, вместо привязки к одному из отводов.

В предпочтительном варианте выполнения охватывающий элемент 16 содержит защитную оболочку (оболочку) 33, выполненную по существу в виде наружного кругового кольца и предназначенную для защиты охватываемого элемента 15 во время использования.

В предпочтительном варианте выполнения оболочка 33 имеет глубину, равную или большую длины охватываемого элемента 15, и выполнена внутри так, чтобы содержать, начиная с внутренней части, охватывающее углубление 37, пару охватывающих ребер 36 и по существу плоскую поверхность (внутреннюю поверхность оболочки), проходящую наружу основного выхода 30.

В предпочтительном варианте выполнения оболочка 33 выполнена снаружи по существу с шестиугольным поперечным сечением, однако она может иметь любую другую альтернативную форму, совместимую с функцией защитной наружной оболочки.

Ниже приводится описание сборки или соединения разветвителя 10 с эквивалентным разветвителем, что взято в данном случае в качестве примера, или с трубными фитингами, трубами или гидравлическими устройствами, содержащими указанные быстродействующие соединительные элементы.

После выравнивания двух разветвителей 10, содержащих в качестве примера один или два отвода, так что первый отвод 11 разветвителя 10 ориентирован под углом 90° относительно первого отвода 11 второго разветвителя 10, процесс соединения предусматривает приложение по существу осевого усилия вдоль оси выхода 20, 30, при этом это усилие должно быть подходящим для обеспечения посадки охватываемого элемента 15 первого разветвителя 10 в охватывающий элемент 16 второго разветвителя.

Во время фазы посадки уплотнение 17 оказывает по существу радиальное давление относительно продольной оси разветвителей на внутреннюю поверхность оболочки 33.

После завершения фазы посадки, один из двух разветвителей поворачивают в любом направлении для выравнивания первого отвода 11 первого разветвителя с первым отводом 11 второго разветвителя.

После этой фазы поворота соединение двух разветвителей завершено, так что пары кольцевых участков, охватываемых участков 26 и охватывающих участков 36, соответственно, обеспечивают непроницаемую для текучей среды осевую герметизацию, а уплотнение 17 обеспечивает непроницаемую для текучей среды радиальную герметизацию соединения.

Естественно, что выравнивание в фазе посадки и соединения можно выполнять с использованием подходящих указателей, предусмотренных на разветвителе или на гидравлическом устройстве, подлежащем соединению, вместо отводов.

Для разборки соединения достаточно, как понятно для специалистов в данной области техники, поворачивать в любом направлении один из разветвителей для направления первого отвода 11 первого разветвителя 10 под углом 90° относительно первого отвода 11 второго разветвителя 10 и прикладывать осевое усилие для разделения разветвителей.

Полученное таким образом соединение обеспечивает то преимущество, что оно полностью защищено защитой 33, так что ничто не может ударяться в соединительные элементы и вызывать повреждения или даже непреднамеренное рассоединение самого соединения. Кроме того, трубы или гидравлические устройства, соединенные с отводами, удерживают стабильно положение.

Соединение предпочтительно не требует какого-либо механического стопорного элемента, связанного с соединительными элементами, поскольку завершение соединения можно проверять визуально снаружи, и поэтому соединение исключает ошибки при сборке.

Указанный разветвитель предпочтительно является очень простым в изготовлении. Действительно, такой разветвитель требует, как понятно для специалистов в данной области техники, простой механической обработки, такой как изготовление углублений (канавок) на охватываемом элементе и охватывающем элементе.

Поэтому разветвитель можно изготавливать из металлического материала, такого как латунь, алюминий, и для диаметров, например, более 50 мм, из стали посредством формования, ковки или литья с последующей чистовой токарной обработкой.

Естественно, что разветвитель можно также выполнять из пластмассового материала посредством литья.

В целом, по мнению заявителя, указанный разветвитель с быстродействующим соединением при простоте конструкции обеспечивает защиту соединения и распознавание полного закрывания соединения снаружи.

Было приведено описание разветвителя 10 с быстродействующими охватываемым и охватывающим соединительными элементами, однако в других вариантах выполнения разветвитель может содержать лишь один из этих элементов и содержать в качестве второго соединительного элемента резьбовой элемент для соединения с соответствующими резьбовыми соединительными элементами.

Было приведено описание разветвителя с охватываемыми соединительными элементами, содержащими тороидальное уплотнение, однако в других вариантах выполнения такое уплотнение может быть заменено тороидальными дольчатыми уплотнениями или манжетными уплотнениями.

Очевидно, что возможны модификации или изменения относительно указанных в описании размеров, форм, материалов, элементов, а также деталей показанной конструкции и способа действия без отхода от идеи изобретения, заданной прилагаемой формулой изобретения.

1. Разветвитель для текучих сред, содержащий основной вход (20) и основной выход (30) для текучей среды и, по меньшей мере, один отвод (11) для подачи указанной текучей среды или проверки параметров указанной текучей среды, содержащий, по меньшей мере, один быстродействующий соединительный охватывающий элемент (16), связанный с основным выходом (30) и подходящий для соединения во время использования с соответствующим быстродействующим соединительным охватываемым элементом (15) с обеспечением быстродействующего соединения;указанный разветвитель содержит быстродействующий соединительный охватываемый элемент (15), связанный с основным входом (20) и являющийся походящим для соединения во время использования с соответствующим быстродействующим соединительным охватывающим элементом (16) с обеспечением быстродействующего соединения;указанный, по меньшей мере, один быстродействующий соединительный охватывающий элемент (16) содержит защитную оболочку (33), имеющую глубину, равную или большую длины указанного соединительного охватываемого элемента (15) и по существу кольцевую форму и выполненную с возможностью защиты во время использования указанного соответствующего быстродействующего соединительного охватываемого элемента (15);указанный разветвитель содержит, по меньшей мере, один ориентир соединения, видимый снаружи и выполненный с возможностью обеспечения визуальной проверки быстродействующего соединения;охватываемый элемент (15) дополнительно содержит пару кольцевых охватываемых участков (26) и охватываемое кольцеобразное углубление (27), подходящие для взаимодействия с соответствующей парой кольцевых охватывающих участков (36) и соответствующим кольцеобразным охватывающим углублением (37);указанная защитная оболочка (33) выполнена внутри так, что содержит, начиная с внутренней части, охватывающее углубление (37), пару охватывающих участков (36) и по существу плоскую внутреннюю поверхность оболочки (33), проходящую наружу основного выхода (30);пары охватываемых участков (26) и охватывающих участков (36) проходят в виде круга или радиально по круговому сектору около 90° и расположены так, что их оси симметрии выровнены с первым отводом (11) для того, чтобы быть расположенными в идентичных положениях относительно указанного первого отвода (11);при этом два из указанных разветвителей (10) могут быть соединены за счет ориентирования одного отвода (11) первого разветвителя (10) под углом 90° относительно первого отвода (11) второго разветвителя (10), приложения по существу осевого усилия, подходящего для обеспечения посадки охватываемого элемента (15) первого разветвителя (10) в охватывающий элемент (16) второго разветвителя и поворачивания одного из двух разветвителей в любом направлении для выравнивания первого отвода (11) первого разветвителя с первым отводом (11) второго разветвителя.

2. Разветвитель по п.1, в котором резьбовой элемент связан с основным входом (20), или основным выходом (30), или отводом (11).

3. Разветвитель по п.1, в котором указанный, по меньшей мере, один отвод (11) расположен также как указанный, по меньшей мере, один видимый снаружи ориентир соединения.

4. Разветвитель по п.1, в котором указанный соответствующий быстродействующий соединительный охватываемый элемент (15) содержит дополнительное круговое углубление (21) охватываемого элемента для размещения герметизирующего уплотнения.

5. Разветвитель по п.1, отличающийся тем, что изготовлен из металлического материала.

6. Разветвитель по п.5, отличающийся тем, что изготовлен посредством формования, или ковки, или литья и последующей механической чистовой обработки.