КОВАЛЕВСКИ Витольд (PL)
КОВАЛЕВСКИ Витольд (PL) является правообладателем следующих патентов:

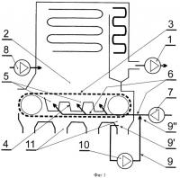
Способ удаления воздуха, не участвующего в сжигании твердого топлива в топке котла, и котел с механической подачей твердого топлива
Изобретение относится к энергетике и может быть использовано в твердотопливных котлах с механической подачей топлива. Котел по изобретению содержит дополнительный воздуховод, имеющий встроенный вентилятор с регулируемой мощностью. Вход дополнительного воздуховода сообщен с поддонным пространством, в котором расположены воздушные камеры системы подачи воздуха в топку котла. Выход дополнительного в...
2447371