Способ удаления воздуха, не участвующего в сжигании твердого топлива в топке котла, и котел с механической подачей твердого топлива

Иллюстрации

Показать все

Изобретение относится к энергетике и может быть использовано в твердотопливных котлах с механической подачей топлива. Котел по изобретению содержит дополнительный воздуховод, имеющий встроенный вентилятор с регулируемой мощностью. Вход дополнительного воздуховода сообщен с поддонным пространством, в котором расположены воздушные камеры системы подачи воздуха в топку котла. Выход дополнительного воздуховода врезан в основной воздуховод, по которому подают свежий воздух в воздушные камеры, или соединен с атмосферой или врезан в воздуховод нагнетания вторичного воздуха в топку. Способ удаления воздуха, не принимающего участия в сжигании топлива, образовавшегося вследствие бесконтрольных его утечек в поддонном пространстве, заключается в заборе его из этого пространства входным концом дополнительного воздуховода и подаче вентилятором в выбранное место, при этом мощность нагнетания воздуха вентилятором регулируют с использованием сведений о разности температур воздуха, забираемого из пространства вокруг воздушных камер и воздуха, подаваемого из атмосферы по основному воздуховоду. При таком выполнении снижается коэффициент избытка воздуха в продуктах сгорания и потребление электроэнергии котлом. 2 н. и 4 з.п. ф-лы, 3 ил.

Реферат

Область использования изобретения

Данное изобретение относится к способу регулируемого отвода воздуха, образовавшегося в поддонном пространстве котла в результате бесконтрольной его утечки и не участвующего в процессе сжигания топлива в топке твердотопливного котла с механической подачей топлива, содержащего подвижное средство подачи топлива, расположенное в зоне сжигания топлива, и систему воздушных камер, расположенную под подвижным средством подачи топлива, а также - к устройству такого котла и к способу усовершенствования подобных эксплутируемых котлов.

Уровень техники

В энергетической и топливной отраслях промышленности для получения горячей воды или пара обычно используют твердотопливные котлы с механической подачей топлива, в частности угля, в топку котла посредством устройств конвейерного типа. Над конвейером расположена топка, снабженная воздуховодом нагнетания в нее вторичного воздуха, тогда как под конвейером расположены воздушные камеры и основной воздуховод для подачи атмосферного воздуха в указанные воздушные камеры, а оттуда - в топку. Кроме того, в поддонном пространстве под конвейером вне воздушных камер, как правило, расположен дополнительный воздуховод со встроенным вентилятором с регулируемой величиной воздушного потока. Такой котел описан, например, в патенте США №4263857. Существенным недостатком котлов с механической подачей твердого топлива в топку и имеющих воздушные камеры являются бесконтрольные утечки воздуха. Попытки устранить этот недостаток описаны в патенте Великобритании №973244 и в европейском патенте №498014.

Сущность изобретения

Целью данного изобретения является уменьшение в системе котла с механической подачей твердого топлива в топку беспорядочных, бесконтрольных потоков воздуха, которые снижают кпд котла.

Согласно изобретению предложен способ удаления воздуха, не участвующего в сжигании топлива в топке котла с механической подачей твердого топлива, содержащего топку, подвижные средства подачи твердого топлива и поддонное пространство, в котором расположена система подачи воздуха в топку, содержащая воздушные камеры и воздуховод подачи атмосферного воздуха в указанные воздушные камеры. Воздух отводят из поддонного пространства, окружающего воздушные камеры системы подачи воздуха в топку, в дополнительный воздуховод со встроенным вентилятором, мощность нагнетания воздуха которого регулируют с использованием разности температур воздуха, подаваемого в воздушные камеры, и воздуха, находящегося в дополнительном воздуховоде.

При этом, из дополнительного воздуховода воздух подают в воздушные камеры системы подачи воздуха в топку, или из дополнительного воздуховода воздух выводят в атмосферу, или из дополнительного воздуховода воздух подают в воздуховод нагнетания вторичного воздуха в топку.

Согласно изобретению предложен также котел, имеющий топку, воздуховод нагнетания вторичного воздуха в топку, подвижные средства механической подачи твердого топлива в топку, поддонное пространство, в котором расположена система подачи воздуха в топку, включающая воздушные камеры, а также - основной воздуховод подачи атмосферного воздуха в воздушные камеры и дополнительный воздуховод со встроенным вентилятором с регулируемой мощностью нагнетания воздуха, у которого вход соединен с поддонным пространством, окружающим воздушные камеры системы подачи воздуха в топку, а выходной конец дополнительного воздуховода соединен с атмосферой.

Котел содержит датчики температуры, расположенные в основном и в дополнительном воздуховодах и связанные с автоматическим регулятором мощности нагнетания воздуха встроенного вентилятора.

Предложенное изобретение позволяет уменьшить количество воздуха, поступающего в пространство под топкой из зазоров, неплотностей, и смешивающегося с продуктами сгорания: газами, дымом, и тем самым снизить коэффициент избытка воздуха в исходящих из топки продуктах сгорания. В результате имеет место снижение потерь в продуктах сгорания, что влечет повышение кпд котла, как правило, на 2…5%, в зависимости от технического состояния котла, от режима нагрузок, качества топлива, качества технического обслуживания котла и работы оператора. Использование данного изобретения также позволяет снизить потребление электроэнергии котлом и его компонентами приблизительно на 10…20%. В результате общего снижения количества отводимых из котла продуктов сгорания снижается нагрузка на вентилятор высокого давления, а потребление энергии встроенным в дополнительный воздуховод вентилятором уравновешено ограниченным потреблением энергии вентилятора зоны воздушных камер. Дополнительным преимуществом изобретения также является короткое время, необходимое для переделки уже эксплуатируемого котла, и невысокая стоимость такой переделки - до 10% от стоимости полной замены системы воздушных камер.

Неожиданно выяснилось, что основным преимуществом данного изобретения является значительное снижение выбросов вредных веществ (угольной пыли) в атмосферу - на 20…70%, что дает надежду на то, что модернизированные котлы будут отвечать будущим более жестким экологическим требованиям без дополнительной установки электростатических пылеуловителей. Также было установлено, что котел по изобретению в процессе эксплуатации имеет уменьшенные на 40…80% выбросы окиси углерода (СО). Это позволяет не устанавливать на котлах дополнительные вентиляторы и, тем самым, снизить потребление электроэнергии.

Краткое описание чертежей

Изобретение дополнительно поясняется чертежами, на которых

- Фиг.1 представляет котел с первым вариантом расположения дополнительного воздуховода;

- Фиг.2 представляет котел со вторым вариантом расположения дополнительного воздуховода;

- Фиг.3 представляет котел с третьим вариантом расположения дополнительного воздуховода.

Описание конкретного воплощения изобретения

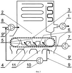
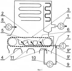
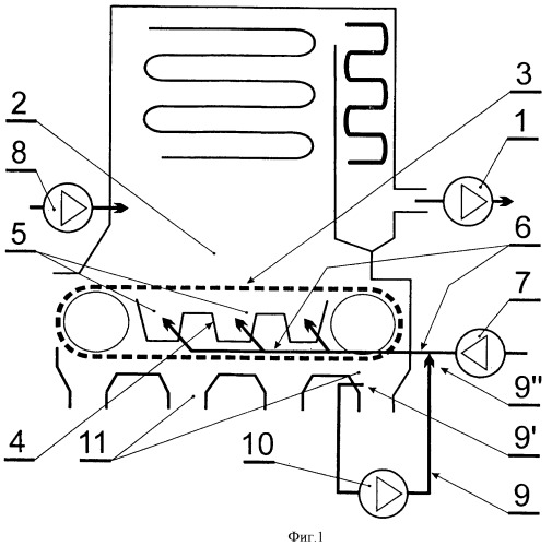
Типичный твердотопливный котел с механической подачей топлива имеет камеру отвода продуктов горения с вытяжным вентилятором 1 и зону сжигания топлива, содержащую топку 2, подвижные средства 3 конвейерного типа подачи топлива, расположенную под конвейером систему 4 подачи воздуха в топку 2, включающую воздушные камеры 5, и воздуховод 6 для нагнетания воздуха из атмосферы в воздушные камеры 5 посредством вентилятора 7. Топка 2 имеет воздуховод для нагнетания в нее вторичного воздуха посредством вентилятора 8. Котел по изобретению имеет дополнительный воздуховод 9 и встроенный в него вентилятор 10 с регулируемой мощностью нагнетания. Вход 9' дополнительного воздуховода 9 сообщен с поддонным пространством 11 вокруг воздушных камер 5 системы 4. Выход 9'' дополнительного воздуховода 9 врезан в воздуховод 6, нагнетающий атмосферный воздух в воздушные камеры 5 системы 4. В другом варианте выход 9'' открыт в атмосферу. В третьем варианте выход 9'' врезан в воздуховод нагнетания вторичного воздуха в топку 2.

Путем регулирования мощности вентилятора 10 отсасывают требуемое количество воздуха из поддонного пространства 11 и отводят по воздуховоду 9. Мощность вентилятора 10 можно регулировать вручную, но предпочтительнее это делать автоматически на основе сведений о разности температуры воздуха в воздуховоде 6, забирающего воздух из атмосферы, и в дополнительном воздуховоде 9. С этой целью в указанных воздуховодах должны быть установлены, по крайней мере, по одному датчику температуры (не показаны). Для типового котла с механической подачей твердого топлива разница температур в воздуховодах 6 и 9 не превышает 5°С. Это указывает на то, что по воздуховоду 9 идет только тот воздух, который скопился в пространстве 11 в результате бесконтрольных утечек из системы нагнетания атмосферного воздуха. Если разница в температурах составляет 5…10°С, то это означает, что в воздуховоде 9 находится воздух, поступающий из зоны конвейера 3 и не участвующий в процессе сжигания топлива или участвующий в этом процессе в ограниченной степени. В этом случае имеют место утечки воздуха из нижней части топки 2, и отвод этого воздуха положительно влияет на снижение выбросов в атмосферу продуктов сгорания. Если же разность температур составляет более 10°С, то это означает, что в воздуховод 9 попали также дым и газы из топки 2. Эти установленные зависимости позволяют автоматизировать изменение мощности нагнетания вентилятора 10 с помощью датчиков температуры, устанавливаемых в воздуховодах 6 и 9 и электрически соединяемых со стандартным известным автоматическим регулятором мощности вентилятора 10; при этом управляющими параметрами являются показания указанных температурных датчиков. Неожиданно выяснилось, что при низкой нагрузке котла, например 10…20% от номинальной нагрузки, количества воздуха, образованного в результате бесконтрольных утечек, вполне достаточно для нормального протекания процесса сгорания топлива. В этой ситуации, если нет возможности перекрыть воздуховод 6, останавливают вентилятор 7, который прекращает нагнетание воздуха в топку 2 и начинает блокировать уход воздуха из котла. Удаление из потока горячих топочных газов воздуха, утекающего через зазоры, неплотности, в большинстве случаев приводит к тому, что естественной тяги становится вполне достаточно для создания в топке 2 давления ниже атмосферного. Вследствие этого отпадает необходимость в работе вентилятора 1. Однако стандарты и регламенты запрещают работу котла без вытяжного вентилятора 1. Из этой ситуации можно выйти, работая при более низком давлении (например, от -50 до -80 Па в топке 2) и при ограничении мощности вентилятора 1.

Очень эффективным для целей эксплуатации котла оказался выбор места врезки воздуховода 6, подающего воздух в воздушные камеры, с дополнительным воздуховодом 9. Соединение, при котором большая часть воздуха, нагнетаемого вентилятором 10, подается к передним из воздушных камер 5, является невыгодным для работы котла, в частности при указанной выше разности температур свыше 10°С, потому что поток дополнительного воздуха имеет низкое содержание кислорода. Но этот же поток, подаваемый к последним из воздушных камер 5, положительно влияет на работу котла даже при разности температур свыше 10°С, потому что в этой части интенсивность процесса сгорания топлива ниже и требует меньшего количества кислорода. Выяснилось, что соединение поддонного пространства 11 посредством дополнительного воздуховода 9 с атмосферой никак не влияет на работу котла и не требует вносить корректировки в ручное или автоматическое управление котлом. Если же пространство 11 соединить с воздуховодом 6 или с воздуховодом подачи вторичного воздуха в топку 2, то взаимодействие смешиваемых воздушных потоков, в частности, при разности температур в воздуховодах свыше 5°С, изменяет протекание процесса сгорания топлива, вызывая необходимость измерения этих потоков и изменения алгоритма управления котлом. Однако экономические и экологические выгоды, выражающиеся в снижении потребления электроэнергии и в использовании дополнительного тепла утечек воздуха, компенсируют затраты на измерения потоков воздуха и изменения алгоритма управления котлом. Так же выяснилось, что использование изобретения дает дополнительные преимущества. Соединение первой воздушной камеры, отделенной от воздушного потока остальных воздушных камер, с поддонным пространством позволяет операторам управлять расстоянием точки начала возгорания угля на подающем топливо конвейере от литника и передней части котла. Подобным образом, соединение последних, неработающих, воздушных камер с поддонным пространством 11 после ранее имевшего место отделения этих камер от воздушного потока остальных воздушных камер снижает бесконтрольные протечки воздуха из пространства вокруг воздушных камер в топку.

Изобретение применимо при постройке новых котлов, а также позволяет быстро, дешево и эффективно модернизировать уже построенные котлы. Например, модернизация распространенной модели котла WR-10 потребует всего лишь установки дополнительного воздуховода 9 со встроенным вентилятором центробежного типа WWOax-50 (изготавливаемого компанией «Овент Олькуш» [Owent Olkusz] с мотором мощностью в 5,5 кВт, число оборотов которого управляется преобразователем частоты. При ручном управлении этим вентилятором можно понижать объем подаваемого в котел воздуха в среднем на 6000 м3/час при нагрузке котла на 30-80%. Использование двух вентиляторов WWOax-50 при модернизации котла WR-25, имеющего сдвоенные средства подачи твердого топлива в топку, позволяет при нагрузке котла на 40-80% понизить коэффициент избыточного воздуха в отходящих газах с 2-2,5 до 1,4-1,7. Температура этих газов, выходящих из котла, снижается на 15-20°С, содержание твердых частиц (угольной пыли) в потоке указанных газов снижается на 20-70%, а содержание окиси углерода (СО) - на 40-80%.

1. Способ удаления воздуха, не участвующего в сжигании топлива в топке котла с механической подачей твердого топлива, содержащего топку, подвижные средства подачи твердого топлива и поддонное пространство, в котором расположена система подачи воздуха в топку, содержащая воздушные камеры и воздуховод подачи атмосферного воздуха в указанные воздушные камеры, отличающийся тем, что воздух отводят из поддонного пространства, окружающего воздушные камеры системы подачи воздуха в топку, в дополнительный воздуховод со встроенным вентилятором, мощность нагнетания воздуха которого регулируют с использованием разности температур воздуха, подаваемого в воздушные камеры, и воздуха, находящегося в дополнительном воздуховоде.

2. Способ по п.1, отличающийся тем, что из дополнительного воздуховода воздух подают в воздушные камеры системы подачи воздуха в топку.

3. Способ по п.1, отличающийся тем, что из дополнительного воздуховода воздух выводят в атмосферу.

4. Способ по п.1, отличающийся тем, что из дополнительного воздуховода воздух подают в воздуховод нагнетания вторичного воздуха в топку.

5. Котел, имеющий топку, воздуховод нагнетания вторичного воздуха в топку, подвижные средства механической подачи твердого топлива в топку, поддонное пространство, в котором расположена система подачи воздуха в топку, включающая воздушные камеры, а также - основной воздуховод подачи атмосферного воздуха в воздушные камеры и дополнительный воздуховод со встроенным вентилятором с регулируемой мощностью нагнетания воздуха, у которого вход соединен с поддонным пространством, окружающим воздушные камеры системы подачи воздуха в топку, отличающийся тем, что выходной конец дополнительного воздуховода соединен с атмосферой.

6. Котел по п.5, отличающийся тем, что содержит датчики температуры, расположенные в основном и в дополнительном воздуховодах и связанные с автоматическим регулятором мощности нагнетания воздуха встроенного вентилятора.