PatentDB.ru — поиск по патентным документам

Иллюстрации к патенту 2447371

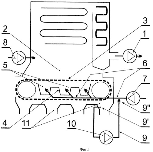
Способ удаления воздуха, не участвующего в сжигании твердого топлива в топке котла, и котел с механической подачей твердого топлива

Способ удаления воздуха, не участвующего в сжигании твердого топлива в топке котла, и котел с механической подачей твердого топлива (патент 2447371)