БИКОН ФИНЛЭНД ЛТД ОЙ (FI)
БИКОН ФИНЛЭНД ЛТД ОЙ (FI) является правообладателем следующих патентов:

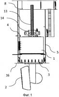
Втягиваемый движительный контейнер с движителем
Изобретение относится к судостроению, а именно к втягиваемому движительному устройству. Судно содержит втягиваемое движительное устройство, которое содержит движительный контейнер, желоб, первое и второе уплотнительные устройства. Внутри желоба установлен с возможностью перемещения движительный контейнер. Движительный контейнер с помощью желоба может перемещаться между первым положением и вторым...
2561183
Устройство, узел и способ фиксации подводного люка или другой съемной конструкции
Изобретение относится к устройству, узлу и способу фиксации подводного люка или другой съёмной или поворотной конструкции и может быть применено на судах либо на других плавучих сооружениях. Устройство для фиксации подводного люка или другой съёмной или поворотной конструкции содержит по меньшей мере ригельный стержень, выполненный с возможностью шарнирного прикрепления к корпусу. На втором конц...
2571531