Втягиваемый движительный контейнер с движителем

Иллюстрации

Показать все

Изобретение относится к судостроению, а именно к втягиваемому движительному устройству. Судно содержит втягиваемое движительное устройство, которое содержит движительный контейнер, желоб, первое и второе уплотнительные устройства. Внутри желоба установлен с возможностью перемещения движительный контейнер. Движительный контейнер с помощью желоба может перемещаться между первым положением и вторым положением к первому уплотнительному устройству. Первое и второе уплотнительные устройства выполнены с возможностью герметизации в первом и втором положении движительного контейнера. Привод гребного винта расположен в движительном контейнере втягиваемого движительного устройства в судне и имеет первое и второе положение, в котором гребной винт находится ниже и выше основной плоскости судна. Достигается легкость в эксплуатации втягиваемого движительного устройства. 3 н. и 7 з.п. ф-лы, 6 ил.

Реферат

ОБЛАСТЬ ТЕХНИКИ

Настоящее изобретение относится к втягиваемому движительному устройству. Также изобретение относится к судну, содержащему по меньшей мере одно движительное устройство согласно настоящему изобретению и к способу обслуживания привода гребного винта.

ПРЕДПОСЫЛКИ СОЗДАНИЯ ИЗОБРЕТЕНИЯ

Известны полупогружные корабли большой грузоподъемности, также известные как корабли «float-on/float-off» (с погрузкой/выгрузкой плавучего груза), для транспортировки очень большого и/или тяжелого груза, такого как буровые платформы или другие суда, и тому подобное. Эти корабли погружаются в воду так, чтобы ватерлиния находилась выше уровня палубы корабля, груз загружается, и корабль поднимается в его нормальное походное положение. Таким образом, может возникать потребность во втягивании гребных винтов этих кораблей в основную плоскость корабля, что позволяет судну входить на мелководье (в гавани), а также уменьшает сопротивление, когда гребные винты не используются во время похода.

Втягиваемые движительные устройства известны в данной области техники и описаны, например, в документах US 6439936 и US 6375524. Тем не менее, в документе US 6439936, движитель поднят над уровнем палубы корабля. Это уменьшает полезную площадь поверхности палубы и посредством изменения центра тяжести корабля также делает его менее устойчивым. В документе US 6375524 описан другой втягиваемый движитель, который поднят над уровнем палубы корабля для обслуживания движительного устройства. В документе описано промежуточное положение, в котором движитель втянут до уровня киля без какого-либо значительного выступания структуры вдоль уровня палубы. Тем не менее, в этом промежуточном положении нет возможности герметизации устройства так, чтобы могло быть выполнено обслуживание гребного винта.

В документе WO 2010/100313 также описан втягиваемый движитель, содержащий закрывающее устройство, которое обеспечивает обслуживание движительного агрегата, даже когда движительное устройство находится ниже ватерлинии судна. Тем не менее, этот тип оборудования является довольно дорогим и, следовательно, не является экономически выгодным на всех типах судов. Более того, в документе US 2466635 описано устройство руления и регулировки глубины с винтовым гребным винтом, в котором гребной винт может быть убран в контур корпуса, когда судно находится на мелководье или приводится в движение с помощью другого средства. Устройство имеет подобную колодцу структуру, которая несет движительный агрегат, телескопически сложенный в тройной телескопической структуре колодца. Структура колодца имеет два уплотнительных кольца в кольцевых канавках снаружи секций колодца. В документе WO 2011/031158 описано судно с втягиваемым движительным устройством, в котором его структура кожуха содержит также два уплотнительных устройства, расположенных на сторонах колодца движителя.

СУЩНОСТЬ ИЗОБРЕТЕНИЯ

Основная задача настоящего изобретения заключается в уменьшении или даже исключении по меньшей мере некоторых представленных выше проблем предшествующего уровня техники.

Задачей настоящего изобретения является разработка втягиваемого движительного устройства, в котором можно выполнять обслуживание привода гребного винта также, когда движитель втянут, в это же время обладая возможностью втягивания движителя в собственную структуру корабля и не выше уровня палубы.

Для достижения упомянутых выше целей устройство и судно согласно изобретению отличаются тем, что представлено в характеризующих частях независимого пункта прилагаемой формулы изобретения. Преимущественные варианты осуществления изобретения описаны в зависимых пунктах.

Типичное втягиваемое движительное устройство согласно настоящему изобретению содержит

- движительный контейнер, содержащий пространство для привода гребного винта, причем движительный контейнер имеет первый конец и второй конец, причем упомянутый второй конец имеет поверхность,

- желоб, внутри которого установлен с возможностью перемещения движительный контейнер, позволяющий движительному контейнеру быть перемещенным между первым положением и вторым положением,

- первое уплотнительное устройство, выполненное с возможностью герметизации, в первом положении движительного контейнера, первого зазора между движительным контейнером и желобом для образования первого водонепроницаемого пространства на второй стороне первого уплотнительного устройства, и

- второе уплотнительное устройство, расположенное, по существу, у второго конца движительного контейнера и выполненное с возможностью герметизации, во втором положении движительного контейнера, второго зазора между движительным контейнером и желобом для образования второго водонепроницаемого пространства на второй стороне второго уплотнительного устройства, причем упомянутое второе уплотнительное устройство содержит первичное уплотнение движительного контейнера, выполненное в функциональном соединении с поверхностью второго конца движительного контейнера.

Типичное судно согласно настоящему изобретению содержит по меньшей мере одно втягиваемое движительное устройство согласно настоящему изобретению и отверстие для доступа к движительному устройству, причем упомянутое отверстие, по существу, меньше, чем поперечное сечение движительного контейнера.

Типичный способ обслуживания привода гребного винта, расположенного в движительном контейнере втягиваемого движительного устройства в судне, причем упомянутый движительный контейнер имеет первое положение, в котором гребной винт находится ниже основной плоскости судна, и второе положение, в котором гребной винт находится выше основной плоскости судна, содержит этапы

- в первом положении движительного контейнера, с первым уплотнительным устройством, образования первого водонепроницаемого пространства выше верхней поверхности движительного контейнера и ниже ватерлинии, таким образом делая движительный контейнер доступным, и

- во втором положении движительного контейнера, со вторым уплотнительным устройством, образования второго водонепроницаемого пространства выше верхней поверхности движительного контейнера и ниже ватерлинии, таким образом делая движительный контейнер доступным.

Сущность изобретения поясняется на чертежах, где:

на фиг. 1 проиллюстрирован вариант осуществления движительного устройства с движительным контейнером согласно настоящему изобретению, в его первом положении при виде сбоку.

На фиг. 2 проиллюстрированы такие же вариант осуществления и положение, как на фиг. 1, при другом виде сбоку.

На фиг. 3 проиллюстрировано движительное устройство с фиг. 1 в его втором положении при виде сбоку.

На фиг. 4 проиллюстрированы такие же вариант осуществления и положение, как на фиг. 3, при другом виде сбоку.

На фиг. 5 показана часть первого уплотнительного устройства согласно варианту осуществления изобретения, когда движительное устройство находится в его первом положении.

На фиг. 6 показана часть второго уплотнительного устройства согласно варианту осуществления изобретения, когда движительное устройство находится в его втором положении.

Подробное описание вариантов осуществления настоящего изобретения

Типичное втягиваемое движительное устройство согласно настоящему изобретению содержит

- движительный контейнер, содержащий пространство для привода гребного винта, причем движительный контейнер имеет первый конец и второй конец, причем упомянутый второй конец имеет поверхность,

- желоб, внутри которого установлен с возможностью перемещения движительный контейнер, позволяющий движительному контейнеру быть перемещенным между первым положением и вторым положением,

- первое уплотнительное устройство, выполненное с возможностью герметизации, в первом положении движительного контейнера, первого зазора между движительным контейнером и желобом для образования первого водонепроницаемого пространства на второй стороне первого уплотнительного устройства, и

- второе уплотнительное устройство, расположенное, по существу, у второго конца движительного контейнера и выполненное с возможностью герметизации, во втором положении движительного контейнера, второго зазора между движительным контейнером и желобом для образования второго водонепроницаемого пространства на второй стороне второго уплотнительного устройства, причем упомянутое второе уплотнительное устройство содержит первичное уплотнение движительного контейнера, выполненное в функциональном соединении с поверхностью второго конца движительного контейнера.

Иначе говоря, в настоящем изобретении разработано движительное устройство, в котором пространство выше движительного контейнера герметизировано от воды с помощью двойной уплотнительной системы, то есть это пространство можно содержать свободным от воды, как в его нижнем положении (первое положение), так и в его верхнем положении (второе положение). Сам по себе движительный агрегат представляет собой водонепроницаемо закрытый контейнер, поскольку он обычно содержит привод гребного винта и его вспомогательные устройства. Таким образом, движительный контейнер, привод гребного винта и его вспомогательные устройства, установленные внутри движительного контейнера, могут быть обслужены независимо от положения движительного контейнера. Таким образом, единственным моментом, когда вода может войти в это пространство, является момент, когда движительный контейнер перемещается. После блокирования движительного контейнера в его первом либо втором положении вода откачивается. На самом деле, в верхнем положении вода выкачивается изнутри пространства, а в нижнем положении желоб освобождается от воды. Обычно движительный контейнер находится, по меньшей мере, в основном ниже ватерлинии судна во всех его положениях.

Слова "движитель" и "движительное устройство" могут быть использованы взаимозаменяемо. Первое положение представляет собой нижнее положение, когда движитель установлен в судне, то есть положение, в котором гребной винт находится в его рабочем положении. Второе положение представляет собой верхнее положение, когда движитель установлен в судне, то есть положение, в котором гребной винт втянут вовнутрь основной плоскости судна, выше его основной плоскости. Подобным образом первые концы или стороны становятся нижними концами или сторонами, и вторые концы или стороны становятся верхними концами или сторонами, когда движитель установлен в судне. Обычно движительный контейнер выполнен с возможностью перемещения вдоль его вертикальной продольной оси.

Под водонепроницаемым пространством понимается пространство, в которое не может попасть существенное количество воды, предпочтительно в которое вода вообще не может попасть. Таким образом, уплотнения образуют водонепроницаемое соединение между желобом и движительным контейнером посредством закрывания небольшого зазора между ними. Размер зазора обычно составляет порядка нескольких сантиметров, например около 20 см.

Желоб движительного устройства открыт у его первого конца, то есть у его нижнего конца, когда устройство установлено в судне. Таким образом, гребной винт может быть перемещен снаружи судна вовнутрь судна, то есть вовнутрь конструкции корпуса.

Второе уплотнительное устройство расположено, по существу, у второго конца движительного контейнера и содержит первичное уплотнение движительного контейнера, выполненное в функциональном соединении с поверхностью второго конца движительного контейнера. Предпочтительно первичное уплотнение движительного контейнера расположено на поверхности второго конца движительного контейнера. Первичное уплотнение движительного контейнера может быть прикреплено к этой поверхности любым известным способом, как, например, посредством клея, клепок, винтов или болтов, или может быть приварено к поверхности. Затем второй зазор между движительным контейнером и желобом герметизируется посредством этого первичного уплотнения движительного контейнера, и часть желоба выступает к нему и соприкасается с ним, когда движительный контейнер достигает его второго положения. Желоб также может содержать выступающий буртик, который приходит в соприкосновение с первичным уплотнением движительного контейнера. Буртик предпочтительно выполнен в форме, по существу, соответствующей форме поперечного сечения движительного контейнера, и его диаметр может быть немного меньше, чем диаметр поперечного сечения движительного контейнера. Когда движительное устройство согласно настоящему изобретению установлено в судне, буртик может быть прикреплен к палубе и ниже палубы судна. В этом случае вода выкачивается изнутри буртика, когда движительный контейнер находится в его верхнем положении.

Согласно другому варианту осуществления изобретения второе уплотнительное устройство дополнительно содержит вторичную уплотнительную поверхность, расположенную на поверхности второго конца движительного контейнера, и вторичное уплотнение движительного контейнера, выполненное в функциональном соединении с упомянутой вторичной уплотнительной поверхностью. Предпочтительно вторичная уплотнительная поверхность выступает наружу из поверхности движительного контейнера, то есть из поверхности во втором направлении.

Согласно предпочтительному варианту осуществления вторичное уплотнение движительного контейнера расположено на держателе уплотнения, выполненном с возможностью прикрепления к желобу. Держатель уплотнения также может быть прикреплен к выступающему буртику, как описано выше. Крепление держателя уплотнения может быть выполнено любым известным способом, как, например, посредством клея, клепок, винтов или болтов, и вторичное уплотнение движительного контейнера может быть прикреплено к этому держателю посредством клея, клепок, винтов, болтов и так далее, или они могут быть приварены к поверхностям.

Согласно еще одному варианту осуществления изобретения первое уплотнительное устройство расположено, по существу, у первого конца движительного контейнера. Оно предпочтительно содержит первичное уплотнение и вторичное уплотнение. Еще более предпочтительно первичное уплотнение первого уплотнительного устройства расположено, по существу, у первого конца движительного контейнера, и вторичное уплотнение первого уплотнительного устройства расположено на расстоянии D1 от упомянутого первичного уплотнения. Таким образом, первичное уплотнение находится, по существу, на уровне корпуса или вблизи от него. Вторичное уплотнение расположено на расстоянии от первичного уплотнения, причем расстояние D1 может составлять, например, 40%, 60% или 80% от расстояния между первым концом и вторым концом движительного контейнера. Расстояние D1 может составлять, например, 10-5000 мм, например 2000 мм. Первое уплотнительное устройство предпочтительно выполнено так, что даже пространство между первичным и вторичным уплотнениями является водонепроницаемым, то есть одно только первичное уплотнение является достаточно эффективным для предотвращения попадания воды в пространство между движительным контейнером и желобом.

Согласно варианту осуществления изобретения уплотнения выполнены из подходящего материала, такого как резина. Материал должен естественным образом поддерживать морскую воду, а также теплые и холодные температуры (обычно 0-32°C). Уплотнение также может быть надувным уплотнением, которое само по себе известно. К тому же одно или более из уплотнений может быть выполнено с возможностью регулировки. Согласно особенно предпочтительному варианту осуществления вторичное уплотнение первого уплотнительного устройства является регулируемым уплотнением.

Согласно варианту осуществления изобретения движительное устройство дополнительно содержит средство перемещения движительного контейнера между первым положением и вторым положением. Упомянутое средство может содержать, например, приводной механизм, присоединенный между желобом и движительным контейнером, или между корпусом и движительным контейнером. Согласно варианту осуществления приводной механизм содержит рейку и шестеренный привод. Рейка может быть расположена на желобе или на движительном контейнере, благодаря чему отсутствует необходимость продления рейки наружу корпуса и выше уровня палубы. Естественно может быть использовано любое другое подходящее средство перемещения движительного контейнера. Рейка предпочтительно расположена в направлении, которое является вертикальным, когда движитель расположен в судне. Согласно другому варианту осуществления средство перемещения движительного контейнера содержит гидравлический цилиндр, или пневматический цилиндр, или несколько их. Тем не менее, следует понимать, что могут быть использованы также другие подъемные устройства.

Согласно еще одному варианту осуществления изобретения движительное устройство также содержит блокирующее средство для блокирования движительного контейнера в его первом положении. Согласно другому варианту осуществления движительное устройство также содержит блокирующее средство для блокирования движительного контейнера в его втором положении. Блокирующее средство может представлять собой любое известное блокирующее средство, такое как, например, первичные стопорные штифты.

Для того чтобы перемещать движительный контейнер, сначала разблокируются механические блокировки между поддерживающей структурой движительного контейнера и корпусом судна, если они используются. Движительный контейнер в этом состоянии все еще может быть закреплен в корпусе судна блокирующими устройствами с дистанционным управлением в корпусе судна. В одном варианте осуществления после этого экипаж выходит из желоба и закрывает водонепроницаемые структуры отсека, включающие в себя запорные клапаны вентиляционных труб желоба. Блокирующие устройства с дистанционным управлением разблокируются, и подъем движительного контейнера может быть начат посредством подъемных устройств. После подъема движительного контейнера с уплотнительных поверхностей вода может попадать в желоб. Из-за закрывания запорных клапанов вентиляционных труб желоба поверхность воды не поднимается, так как в желобе образована воздушная пробка. Для сведения к минимуму объема воды давление в пространстве может быть предварительно повышено. Также возможно оставить вентиляционные трубы или соответствующие воздушные каналы незакрытыми, посредством чего пространство заполняется водой. После достижения движительным контейнером его верхнего положения он блокируется в его верхнем положении посредством механического блокирующего устройства или блокирующего устройства с дистанционным управлением. После открывания запорных клапанов вентиляционных труб пространство освобождается от воды. Затем экипаж может войти в желоб. Приведение движительного контейнера в положение привода, то есть в рабочий режим, происходит в обратном порядке.

Типичное судно согласно настоящему изобретению содержит по меньшей мере одно втягиваемое движительное устройство согласно настоящему изобретению и отверстие для доступа к движительному устройству, причем упомянутое отверстие, по существу, меньше, чем поперечное сечение движительного контейнера.

На самом деле, отверстие обычно выполнено с таким размером, чтобы обеспечивать вход человека, но не позволять извлечение всего движительного устройства через это отверстие. Отверстие также может быть выполнено с таким размером, чтобы обеспечивать извлечение привода гребного винта, если он должен быть полностью заменен и не может быть обслужен на судне. Отверстие может быть расположено либо на палубе судна, либо оно может быть расположено на стороне движительного устройства, у его верхнего конца. Обычно отверстие расположено на верхней части желоба. Отверстие также оснащено люком или дверью, который/которая является водонепроницаемым/водонепроницаемой, то есть также оснащен/оснащена уплотнениями. Предпочтительно отверстие оснащено двойной дверью или люком.

Типичный способ обслуживания привода гребного винта, расположенного в движительном контейнере втягиваемого движительного устройства в судне, причем упомянутый движительный контейнер имеет первое положение, в котором гребной винт находится ниже основной плоскости судна, и второе положение, в котором гребной винт находится выше основной плоскости судна, содержит этапы

- в первом положении движительного контейнера, с первым уплотнительным устройством, образования первого водонепроницаемого пространства выше верхней поверхности движительного контейнера и ниже ватерлинии, таким образом делая движительный контейнер доступным, и

- во втором положении движительного контейнера, со вторым уплотнительным устройством, образования второго водонепроницаемого пространства выше верхней поверхности движительного контейнера и ниже ватерлинии, таким образом делая движительный контейнер доступным.

Таким образом, способ согласно настоящему изобретению позволяет в любое время обслуживать движительный контейнер, то есть получать доступ к приводу гребного винта для технического обслуживания, за исключением времени, когда движительный контейнер перемещается между его первым и вторым положениями.

Представленные в этом тексте иллюстративные варианты осуществления изобретения не следует понимать как ограничивающие применимость прилагаемой формулы изобретения. Глагол "содержать" используется в этом тексте в качестве открытого ограничения, которое не исключает также существования неизложенных признаков. Признаки, изложенные в зависимых пунктах формулы изобретения, могут быть свободно взаимно объединены, если ясно не заявлено иначе. Ссылочные позиции также не следует понимать как ограничивающие формулу изобретения.

Представленные в этом тексте иллюстративные варианты осуществления и их преимущества в применимых частях относятся к устройству, а также к судну и способу согласно изобретению, даже несмотря на то, что это не всегда отдельно упомянуто.

Новые признаки, которые считаются характеристиками изобретения, изложены, в частности, в прилагаемой формуле изобретения. Тем не менее, само изобретение, с точки зрения как его конструкции, так и его способа работы, вместе с его дополнительными целями и преимуществами, будет лучше понято из последующего описания конкретных вариантов осуществления при прочтении совместно с прилагаемыми чертежами.

В разных вариантах осуществления и на разных чертежах одинаковые или подобные компоненты обозначены одинаковыми ссылочными позициями.

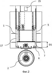
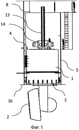
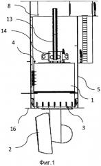
На фиг. 1 проиллюстрирован вариант осуществления движительного устройства с движительным контейнером согласно настоящему изобретению, в его первом положении при виде сбоку. Первое положение представляет собой нижнее положение, в котором гребной винт 2 находится ниже основной плоскости 16 судна. На чертеже показан движительный контейнер 1, причем привод гребного винта расположен внутри него (и не показан). Первый конец 3 движительного контейнера 1 является его нижним концом, и второй конец 4 является его верхним концом. На чертеже дополнительно показан желоб 5, который представляет собой открытый вниз желоб в конструкции судна, в котором движительный контейнер 1 выполнен с возможностью вертикального перемещения в первое и второе положения и между ними. Второе уплотнительное устройство 8 находится у второго конца 4, то есть сверху движительного контейнера, и более подробно показано на фиг. 6.

На чертеже дополнительно показано средство перемещения для движительного контейнера, то есть в данном случае рейка 13 и шестеренный привод 14, причем рейка 13 прикреплена к желобу 5, а не к движительному контейнеру.

На фиг. 2 проиллюстрированы такие же вариант осуществления и положение, как на фиг. 1, но при другом виде сбоку. На этом чертеже первый зазор 17 между движительным контейнером 1 и желобом 5 показан несколько преувеличенно для понятности. Первый зазор 17 водонепроницаемо закрыт первичным уплотнением 6 и вторичным уплотнением 7. Вторичное уплотнение 7 расположено на расстоянии D1 от первичного уплотнения 6. На чертеже также показано отверстие 15, которое может представлять собой дверь или люк и является водонепроницаемым. Это отверстие 15 обеспечивает доступ к движительному контейнеру для обслуживания привода гребного винта, когда движительный контейнер находится в своем втором, верхнем положении.

На фиг. 3 и 4 проиллюстрировано движительное устройство с фиг. 1 в его втором положении, то есть в его верхнем положении, при двух разных видах сбоку. В этом положении гребной винт находится внутри желоба, выше основной плоскости судна, и, таким образом, судно может быть погружено в воду или может входить на мелководье, такое как гавань. На чертеже также проиллюстрировано, что высота движительного контейнера 1 ограничена, и рейка 13 прикреплена к желобу, причем все движительное устройство находится ниже палубы 19 корабля. Следовательно, движитель, даже в его верхнем положении, не препятствует загрузке груза и не изменяет значительно центр тяжести судна.

На фиг. 5 показана часть первого уплотнительного устройства согласно варианту осуществления изобретения, когда движительное устройство находится в его первом положении. В этом варианте осуществления вторичное уплотнение 7 является регулируемым уплотнением. В этом варианте осуществления первичное уплотнение 6 расположено на движительном контейнере 1 и напротив выступающей части структуры 18 корпуса судна. Вторичное уплотнение 7 расположено на движительном контейнере 1 и напротив структуры 18 корпуса. Желоб 5 и структура 18 корпуса для ясности показаны обрезанными, чтобы более понятно показать уплотнения 6 и 7.

На фиг. 6 показана часть второго уплотнительного устройства согласно варианту осуществления изобретения, когда движительное устройство находится в его втором положении. Это второе уплотнительное устройство состоит из двух уплотнительных элементов, первичного уплотнения 9 движительного контейнера, которое расположено на верхней поверхности 4 движительного контейнера, и вторичного уплотнения 11 движительного контейнера. В этом варианте осуществления вторичное уплотнение 11 движительного контейнера выполнено с возможностью приведения в соприкосновение с держателем 12 уплотнения, который прикреплен к желобу 5. Верхняя поверхность 4 движительного контейнера содержит выступающую вторичную уплотнительную поверхность 10, с которой также соприкасается вторичное уплотнение 11 движительного контейнера. Вторичное уплотнение 11 движительного контейнера может быть прикреплено либо на держатель 12 уплотнения, либо на вторичную уплотнительную поверхность 10.

На чертежах описаны только преимущественные иллюстративные варианты осуществления изобретения. Специалисту в данной области техники ясно, что изобретение не ограничено только представленными выше примерами и изобретение может быть изменено в рамках объема формулы изобретения, представленной далее в этом документе. Некоторые возможные варианты осуществления изобретения описаны в зависимых пунктах формулы изобретения, и они не должны быть поняты как ограничивающие как таковой объем защиты изобретения.

1. Втягиваемое движительное устройство, содержащее:- движительный контейнер (1), образующий пространство для привода гребного винта, причем движительный контейнер имеет первый конец (3) и второй конец (4), при этом второй конец (4) имеет поверхность,- желоб (5), внутри которого установлен с возможностью перемещения движительный контейнер (1), для перемещения движительного контейнера (1) между первым положением и вторым положением,- первое уплотнительное устройство (6, 7), предназначенное для герметизации, в первом положении движительного контейнера, первого зазора (17) между движительным контейнером (1) и желобом (5) для образования первого водонепроницаемого пространства на второй стороне первого уплотнительного устройства, и- второе уплотнительное устройство (8), расположенное, по существу, у второго конца (4) движительного контейнера (1) и предназначенное для герметизации, во втором положении движительного контейнера, второго зазора между движительным контейнером (1) и желобом (5) для образования второго водонепроницаемого пространства на второй стороне второго уплотнительного устройства, причем второе уплотнительное устройство (8) содержит первичное уплотнение (9) движительного контейнера, выполненное в функциональном соединении с поверхностью второго конца (4) движительного контейнера (1).

2. Втягиваемое движительное устройство по п.1, отличающееся тем, что первичное уплотнение (9) движительного контейнера расположено на поверхности второго конца (4) движительного контейнера (1).

3. Втягиваемое движительное устройство по п.1 или 2, отличающееся тем, что второе уплотнительное устройство (8) дополнительно содержит вторичную уплотнительную поверхность (10), расположенную на поверхности второго конца (4) движительного контейнера (1), и вторичное уплотнение (11) движительного контейнера, выполненное в функциональном соединении с упомянутой вторичной уплотнительной поверхностью (10).

4. Втягиваемое движительное устройство по п.3, отличающееся тем, что вторичное уплотнение (11) движительного контейнера расположено на держателе (12) уплотнения, выполненном с возможностью прикрепления к желобу (5).

5. Втягиваемое движительное устройство по п.1, отличающееся тем, что первое уплотнительное устройство (6, 7) расположено, по существу, у первого конца (3) движительного контейнера (1).

6. Втягиваемое движительное устройство п.1, отличающееся тем, что первое уплотнительное устройство (6, 7) содержит первичное уплотнение (6) и вторичное уплотнение (7).

7. Втягиваемое движительное устройство по п.6, отличающееся тем, что первичное уплотнение (6) первого уплотнительного устройства расположено, по существу, у первого конца (3) движительного контейнера (1), а вторичное уплотнение (7) первого уплотнительного устройства расположено на расстоянии D1 от первичного уплотнения (6).

8. Втягиваемое движительное устройство по п.1, отличающееся тем, что оно дополнительно содержит средство перемещения движительного контейнера между первым положением и вторым положением, причем упомянутое средство содержит приводной механизм, присоединенный между желобом (5) и движительным контейнером (1).

9. Судно, содержащее, по меньшей мере, одно втягиваемое движительное устройство по любому из пп.1-8 и отверстие (15) для доступа к движительному устройству, причем упомянутое отверстие (15), по существу, меньше, чем поперечное сечение движительного контейнера (1).

10. Способ обслуживания привода гребного винта, расположенного в движительном контейнере втягиваемого движительного устройства в судне, причем упомянутый движительный контейнер имеет первое положение, в котором гребной винт находится ниже основной плоскости судна, и второе положение, в котором гребной винт находится выше основной плоскости судна, содержащий этапы, на которых- в первом положении движительного контейнера, с первым уплотнительным устройством, образуют первое водонепроницаемое пространство выше верхней поверхности движительного контейнера и ниже ватерлинии, таким образом, делая движительный контейнер доступным, иво втором положении движительного контейнера, со вторым уплотнительным устройством, образуют второе водонепроницаемое пространство выше верхней поверхности движительного контейнера и ниже ватерлинии, таким образом, делая движительный контейнер доступным.