Эй.Си.Эн 166 970 627 Пти Лтд (AU)
Эй.Си.Эн 166 970 627 Пти Лтд (AU) является правообладателем следующих патентов:

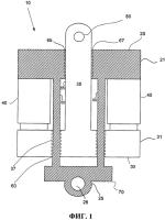
Демпфирующее устройство для демпфирования вибраций
Изобретение относится к области машиностроения. Демпфирующее устройство (10) содержит первую секцию (20), содержащую опорный узел первой секции, выполненный с возможностью поддержания вибрационного оборудования (140). Вторая секция (30) содержит опорный узел второй секции, выполненный с возможностью подвешивания демпфирующего устройства. Один или более заполняемых текучей средой поглотителей (40...
2579860