Демпфирующее устройство для демпфирования вибраций

Иллюстрации

Показать все

Изобретение относится к области машиностроения. Демпфирующее устройство (10) содержит первую секцию (20), содержащую опорный узел первой секции, выполненный с возможностью поддержания вибрационного оборудования (140). Вторая секция (30) содержит опорный узел второй секции, выполненный с возможностью подвешивания демпфирующего устройства. Один или более заполняемых текучей средой поглотителей (40) сообщаются с источником текучей среды. Вибрация вызывает смещение первой секции относительно второй секции. Система управления текучей средой функционально соединена с узлом смещения обратной связи, сообщается и управляет удалением текучей среды из одного или более поглотителей. Достигается повышение износостойкости, изменение демпфирующих свойств в зависимости от величины вибрации. 25 з.п. ф-лы, 22 ил.

Реферат

Область техники

Настоящее изобретение относится к демпфирующему устройству для демпфирования вибраций.

Уровень техники

Обычный способ установки удлиненных листовых элементов, таких как сваи, анкерные опоры, кессонные сваи и оправки, состоит в использовании вибрационного приспособления, например сваебойного копра или вибромолота, поддерживаемого устройством поддержания, например, подъемным краном и т.п. В случае сваебойного копра один конец вибрационного сваебойного копра поддержан подъемным краном, например посредством крюка, соединенного со стропом, а другой конец вибрационного сваебойного копра воздействует на свайное устройство, внедряя посредством этого сваю в поверхность грунта.

Обычно вибрационный сваебойный копер может содержать множество эксцентриковых грузиков, например кулачков, поворот которых с высокой скоростью приводит к вибрации вибрационного сваебойного копра. Затем происходит передача силы вибрации, образованной вибрационным свайным копром, к концу сваи для внедрения, таким образом, сваи в поверхность грунта.

Во время фаз запуска и выключения такого вибрационного оборудования обычно возникает значительная сила вибрации, передаваемая устройству поддержания, например подъемному крану, через строп. В определенных ситуациях эта передаваемая подъемному крану сила вибрации может приводить к ряду неисправностей. Сюда могут входить поломка стрелы крана, чрезмерный износ основных элементов конструкции, таких как штыри, блоки, гусеничное устройство, и ускоренное развитие усталости структуры и металлических сварных швов. Эти неисправности могут значительно уменьшать срок службы устройств.

Хотя в прошлом был предложен ряд демпфирующих устройств для демпфирования вибраций, эти устройства обычно используют эластомерный материал для поглощения части силы вибрации. Однако вследствие деформации сдвига, прилагаемой к эластомерному материалу, эти компоненты указанных устройств подвержены износу. Кроме того, ответственные за демпфирование вибрации свойства эластомерного материала не могут быть изменены в зависимости от величины передаваемой силы вибрации, согласно рабочим условиям.

Таким образом, существует необходимость в демпфирующем устройстве для демпфирования вибраций, преодолевающем или по меньшей мере ослабляющем один или большее количество вышеупомянутых недостатков, или по меньшей мере предоставляющем полезную коммерческую альтернативу.

Имеющаяся в настоящем описании ссылка на любую предшествующую публикацию (или на полученную из нее информацию) или на любое известное обстоятельство не представляет собой, и не должна быть рассмотрена как, подтверждение или признание или любую форму предположения, что эта предшествующая публикация (или полученная из нее информация) или известное обстоятельство представляет собой часть общеизвестных сведений в той области, к которой имеет отношение настоящее описание изобретения.

Раскрытие изобретения

В качестве одной особенности изобретения предложено демпфирующее устройство для демпфирования вибраций, содержащее:

первую секцию, содержащую опорный узел первой секции, выполненный с возможностью поддержания вибрационного оборудования;

вторую секцию, содержащую опорный узел второй секции, выполненный с возможностью обеспечения поддержания демпфирующего устройства для демпфирования вибраций посредством устройства поддержания; и

один или большее количество заполняемых текучей средой поглотителей, расположенных между первой и второй секциями и выполненных с возможностью поглощения по меньшей мере части силы вибрации, передаваемой вследствие работы вибрационного оборудования.

В одном варианте устройства сила вибрации, передаваемая к первой секции, вызывает смещение первой секции по направлению ко второй секции, которое вызывает сжатие указанного одного или большего количества заполняемых текучей средой поглотителей, что обеспечивает поглощение по меньшей мере части силы вибрации.

В другом варианте устройства часть опорного узла первой секции выдвинута во вторую секцию через один или большее количество проемов во второй секции, а часть опорного узла второй секции выдвинута в первую секцию через один или большее количество проемов в первой секции.

В одном варианте реализации настоящего изобретения часть опорного узла первой секции, выдвинутая через проем во второй секции, представляет собой одну или большее количество поддерживающих штанг первой секции, а часть опорного узла второй секции, выдвинутая через проем в первой секции, представляет собой одну или большее количество поддерживающих штанг второй секции.

В другом варианте реализации изобретения соединительный элемент первой секции соединен с одной или большим количеством поддерживающих штанг первой секции для соединения устройства поддержания с демпфирующим устройством для демпфирования вибраций. В дополнительном варианте устройства соединительный элемент второй секции соединен с одной или большим количеством поддерживающих штанг второй секции для соединения вибрационного оборудования с демпфирующим устройством для демпфирования вибраций.

В другом дополнительном варианте устройства первая секция содержит пластину первой секции, а вторая секция содержит пластину второй секции, причем пластины первой и второй секций расположены параллельно друг другу и отделены друг от друга посредством одного или большего количества заполняемых текучей средой поглотителей.

При необходимости пластина первой секции и пластина второй секции содержат соответственно верхний и нижний жесткие листы.

В одном варианте устройства пластина первой секции и пластина второй секции содержат соответственно внедренный жесткий лист.

В другом варианте устройства по меньшей мере одна пластина из пластины первой секции и пластины второй секции выполнена по существу из полимерного материала.

В одном варианте реализации настоящего изобретения полимерный материал представляет собой полиэтилен.

В другом варианте реализации изобретения один или большее количество заполняемых текучей средой поглотителей содержат входное отверстие для получения текучей среды из источника текучей среды и выходное отверстие для удаления текучей среды.

При необходимости демпфирующее устройство для демпфирования вибраций содержит систему управления текучей средой, сообщающуюся по текучей среде с одним или большим количеством заполняемых текучей средой поглотителей и выполненную с возможностью управления по меньшей мере одним потоком текучей среды, протекающим по направлению к одному или большему количеству заполняемых текучей средой поглотителей и из них.

В другом дополнительном варианте устройства текучая среда, удаляемая из одного или большего количества заполняемых текучей средой поглотителей, перемещена по меньшей мере в один из:

источника текучей среды; и

узла выпуска.

В дополнительном варианте реализации настоящего изобретения демпфирующее устройство для демпфирования вибраций содержит узел смещения с обратной связью, функционально соединенный с системой управления текучей средой для обнаружения смещения между первой и второй секциями, причем включение системы управления текучей средой происходит после обнаружения смещения посредством узла смещения с обратной связью.

В другом дополнительном варианте реализации настоящего изобретения в случае, обнаружения системой смещения с обратной связью, смещения второй секции по направлению к первой секции, система управления текучей средой подает текучую среду в один или большее количество заполняемых текучей средой поглотителей.

При необходимости, в случае обнаружения смещения второй секции посредством системы смещения с обратной связью по направлению к первой секции, система управления текучей средой удаляет текучую среду из одного или большего количества заполняемых текучей средой поглотителей.

При необходимости, узел смещения с обратной связью, содержит:

рычаг, функционально соединенный со второй секцией на первом конце;

первое выравнивающее устройство, функционально соединенное со вторым концом рычага и источником текучей среды, причем включение первого выравнивающего устройства происходит посредством рычага при перемещении второй секции по направлению к первой секции и вызывает подачу текучей среды системой управления текучей средой в один или большее количество заполняемых текучей средой поглотителей; и

второе выравнивающее устройство, функционально соединенное со вторым концом рычага и источником текучей среды, причем включение второго выравнивающего устройства происходит посредством рычага при смещении второй секции по направлению от первой секции и вызывает удаление текучей среды системой управления текучей средой из одного или большего количества заполняемых текучей средой поглотителей.

В одном варианте устройства система управления текучей средой содержит управляющий клапанный блок для управления направлением, содержащий:

первый канал, сообщающийся по текучей среде с первым выравнивающим устройством;

второй канал, сообщающийся по текучей среде со вторым выравнивающим устройством;

третий канал, сообщающийся по текучей среде с источником текучей среды;

четвертый канал, сообщающийся по текучей среде с одним или большим количеством заполняемых текучей средой поглотителей; и

пятый канал, сообщающийся по текучей среде с одним из:

узла выпуска и

источника текучей среды через клапан одностороннего действия.

В другом варианте устройства:

в случае включения первого канала путем включения первого выравнивающего устройства включение третьего и четвертого каналов происходит посредством управляющего клапанного узла для управления направлением для обеспечения возможности подачи текучей среды из источника текучей среды в один или большее количество заполняемых текучей средой поглотителей; и

при включении первого канала путем включения второго выравнивающего устройства включение третьего и четвертого каналов происходит посредством управляющего клапанного узла для управления направлением для обеспечения возможности удаления текучей среды из одного или большего количества заполняемых текучей средой поглотителей.

В одном варианте реализации настоящего изобретения источник текучей среды представляет собой источник газа под давлением, причем заполняемые текучей средой поглотители выполнены с возможностью надувания газом под давлением.

В другом варианте реализации настоящего изобретения источник газа под давлением представляет собой источник сжатого воздуха.

В другом варианте устройства один или большее количество заполняемых текучей средой поглотителей представляют собой воздушные резервуары.

В другом дополнительном варианте устройства каждый воздушный резервуар содержит конструкцию с поршнем и обкатывающей диафрагмой.

В одном варианте реализации изобретения источник текучей среды представляет собой источник гидравлической текучей среды.

В другом варианте реализации настоящего изобретения демпфирующее устройство для демпфирования вибраций содержит множество заполняемых текучей средой поглотителей, причем первый канал для текучей среды и второй канал для текучей среды подают текучую среду из источника текучей среды в соответствующие части заполняемых текучей средой поглотителей с различными скоростями потока текучей среды.

В дополнительном варианте устройства демпфирующее устройство для демпфирования вибраций содержит двигатель, функционально соединенный с компрессором, соединенным с подающим устройством для подачи текучей среды.

В другом варианте устройства демпфирующее устройство для демпфирования вибраций содержит приемный блок, функционально соединенный с двигателем и принимающий сигнал от блока дистанционного управления для управления работой двигателя.

При необходимости первая секция содержит первые стенки, проходящие ко второй секции, а вторая секция содержит вторые стенки, проходящие к первой секции, причем первые и вторые стенки подвергнуты раздвижному перемещению относительно друг друга при частичном поглощении силы вибрации демпфирующим устройством для демпфирования вибраций.

Другие варианты реализации настоящего изобретения будут описаны в описании примеров реализации изобретения.

Краткое описание чертежей

Варианты реализации настоящего изобретения должны стать очевидными из последующего описания, в котором лишь в качестве примера приведен по меньшей мере один предпочтительный, но не ограничивающий, вариант реализации настоящего изобретения со ссылками на сопровождающие чертежи.

На фиг. 1 показано горизонтальное сечение взятого в качестве примера демпфирующего устройства для демпфирования вибраций.

На фиг. 2 показано горизонтальное сечение демпфирующего устройства для демпфирования вибраций по фиг. 1.

На фиг. 3 показан вид сбоку взятого в качестве примера подъемного крана, поддерживающего демпфирующее устройство для демпфирования вибраций по фиг. 1, поддерживающее вибрационный сваебойный копер.

На фиг. 5 показан вид сбоку взятого в качестве еще одного примера демпфирующего устройства для демпфирования вибраций, в котором пластины первой и второй секций смещены по направлению друг к другу.

На фиг. 5 показан вид сбоку взятого в качестве еще одного примера демпфирующего устройства для демпфирования вибраций в уравновешенном положении.

На фиг. 6 показан вид сбоку демпфирующего устройства для демпфирования вибраций по фиг. 4, в котором первая и вторая секции удалены друг от друга.

На фиг. 7 показана блок-схема конструкция трубопроводов для демпфирующего устройства для демпфирования вибраций.

На фиг. 8 показана блок-схема альтернативной конструкции трубопроводов для демпфирующего устройства для демпфирования вибраций.

На фиг. 9 показано горизонтальное сечение другого варианта реализации демпфирующего устройства для демпфирования вибраций.

На фиг. 10 показан вид спереди другого варианта реализации демпфирующего устройства для демпфирования вибраций.

На фиг. 11 показан вид сбоку демпфирующего устройства для демпфирования вибраций по фиг. 10.

На фиг. 12А показан вид спереди второй секции демпфирующего устройства для демпфирования вибраций по фиг. 10.

На фиг. 12В показан вид сбоку второй секции по фиг. 12А.

На фиг. 12С показан вид спереди (в разобранном виде) второй секции по фиг. 12А.

На фиг. 12D показан вид сбоку (в разобранном виде) второй секции по фиг. 12А.

На фиг. 13А показан вид спереди первой секции демпфирующего устройства для демпфирования вибраций по фиг. 10.

На фиг. 13В показан вид сбоку первой секции по фиг. 13А.

На фиг. 13С показан вид спереди (в разобранном виде) первой секции по фиг. 13А.

На фиг. 13D показан вид сбоку (в разобранном виде) первой секции по фиг. 13А.

На фиг. 14 показан вид сверху пластины второй секции демпфирующего устройства для демпфирования вибраций по фиг. 10.

На фиг. 15 показан вид сверху пластины первой секции демпфирующего устройства для демпфирования вибраций по фиг. 10.

На фиг. 16 показано поперечное сечение другого варианта реализации демпфирующего устройства для демпфирования вибраций, включая корпус.

Описание вариантов реализации изобретения

Последующие варианты, приводимые только в качестве примера, описаны для обеспечения более точного понимания сути предпочтительного варианта или предпочтительных вариантов реализации изобретения. На чертежах, приложенных для пояснения особенностей приводимого в качестве примера варианта реализации изобретения, одинаковые номера позиций использованы для указания на аналогичные элементы на всех чертежах.

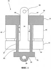
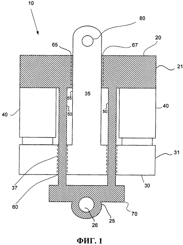
На фиг. 1 показан пример демпфирующего устройства 10 для демпфирования вибраций. Демпфирующее устройство 10 для демпфирования вибраций содержит первую секцию 20, вторую секцию 30 и один или большее количество заполняемых текучей средой поглотителей 40. Первая секция 20 содержит опорный узел 25 первой секции, предназначенный для поддержания вибрационного оборудования 140 (см. фиг. 3). Вторая секция 30 содержит опорный узел 35 второй секции, обеспечивающий возможность поддержания демпфирующего устройства 10 для демпфирования вибраций посредством устройства 100 поддержания (см. фиг. 3). Один или большее количество заполняемых текучей средой поглотителей 40 размещены между первой секцией 20 и второй секцией 30. Один или большее количество заполняемых текучей средой поглотителей 40 выполнены с возможностью поглощения по меньшей мере части силы вибрации, передаваемой вследствие работы вибрационного оборудования.

В предпочтительном варианте реализации изобретения демпфирующее устройство 10 для демпфирования вибраций перехватывает и ослабляет силы вибрации посредством сжатия одного или большего количества заполняемых текучей средой поглотителей 40. Эта конструкция особенно успешна на фазах запуска и отключения вибрационного оборудования 140, при которых низкочастотные силы вибрации составляют существенную часть силы вибрации, передаваемой устройству 100 поддержания. Кроме того, сила вибрации, передаваемая на устройство 100 поддержания во время фаз запуска и выключения при работе вибрационного оборудования 140, обычно значительно больше, чем во время нормального режима эксплуатации. Таким образом, сильная тряска устройства 100 поддержания уменьшена во время этих фаз при использовании демпфирующего устройства 10 для демпфирования вибраций.

Как показано на фиг. 3, устройство 100 поддержания, которое поддерживает демпфирующее устройство 10 для демпфирования вибраций, может быть выполнено в виде подъемного крана 100. Однако, другие формы устройства поддержания могут быть использованы для поддержания демпфирующего устройства 10 для демпфирования вибраций, например экскаватора или некоторого другого типа грузоподъемных средств. Вибрационное оборудование 140, соединенное с опорным узлом 25 первой секции, может быть выполнено в виде вибрационного сваебойного копра. Однако, могут быть использованы и другие формы вибрационного оборудования 140, например, вибромолот 140 и т.п.

При использовании происходит принуждение первой и второй секций 20, 30 к сближению друг с другом, посредством приложения направленной вниз силы к опорному узлу 25 первой секции через нижний строп 130. При принуждении к сближению первой и второй секций 20, 30 происходит перемещение первой секции и второй секции друг к другу, что приводит к сжатию одного или большего количества заполняемых текучей средой поглотителей 40 и по меньшей мере частичному поглощению силы вибрации. Частичное поглощение понуждающей силы одним или большим количеством заполняемых текучей средой поглотителей 40 уменьшает силу вибрации, передаваемую к устройству 100 поддержания через верхний строп 120.

Обратимся за дополнительными подробностями к фиг. 1. Первая секция 20 может содержать пластину 21 первой секции, а вторая секция 30 может содержать пластину 31 второй секции. Пластина 21 первой секции содержит проем 65 первой секции, размещенный по центру пластины. Пластина 31 второй секции содержит множество проемов 60 во второй секции, размещенных в ней радиальным образом.

Опорный узел 25 первой секции может содержать множество поддерживающих штанг 50 первой секции, которые соединены с первой секции 20 и которые проходят от нее по направлению вниз. Поддерживающая штанга 50 первой секции размещена радиальным образом относительно проема в первой секции и равномерно распределена по пространству. Часть каждой поддерживающей штанги 50 первой секции выходит через соответствующий один проем из проемов 60 во второй секции, выполненных в пластине 21 второй секции. Каждый проем 60 второй секции может содержать по существу свободную от трения втулку 37 на своей внутренней поверхности, например, вкладыш из тефлона, для уменьшения трения между поддерживающими штангами 50 первой секции и пластиной 31 второй секции во время работы.

Выступающие части поддерживающих штанг 50 первой секции соединены с элементом 70 ограничителя, который расположен под пластиной 31 второй секции для ограничения разделения второй секции 30 и первой секции 20 посредством удаления поддерживающих штанг 50 первой секции из пластины 31 второй секции. Элемент 70 ограничителя может быть прикреплен с возможностью открепления к поддерживающим штангам 50 первой секции посредством соединительных элементов. Например, каждая поддерживающая штанга 50 первой секции может содержать винтовую резьбу для обеспечения возможности соединения с ним резьбового элемента. Ограничительный элемент может представлять собой соединительную пластину 70, которая закреплена с возможностью открепления под пластиной 31 второй секции. В качестве альтернативы понятно, что поддерживающие штанги 50 первой секции могут быть жестко прикреплены к элементу 70 ограничителя.

Опорный узел 25 первой секции содержит соединительный элемент 26 первой секции для соединения нижнего стропа 130 с опорным узлом 25 первой секции. В частности соединительный элемент 26 первой секции выполнена в виде выступа или ушка, которые могут проходить в направлении удаления от элемента 70 ограничителя.

Опорный узел 35 второй секции содержит поддерживающую штангу 55 второй секции, расположенную в центре пластине 31 второй секции и проходящую по существу перпендикулярно к ней. Хотя на фиг. 1 поддерживающая штанга 55 второй секции показана для ясности с профилем в виде балки, поддерживающая штанга 55 второй секции может иметь заостренный профиль, причем расширенная часть обеспечивает возможность контакта с пластиной 31 второй секции и сходит на конус по мере выхода из пластины 31 второй секции.

Часть поддерживающей штанги 55 второй секции выступает через проем 65 первой секции, размещенный по центру пластины 20 первой секции. Опорный узел 35 второй секции содержит соединительный элемент 80 второй секции для соединения верхнего стропа 120 с опорным узлом 35 второй секции. Соединительный элемент 80 второй секции выполнен в виде выступа или ушка, которые могут проходить по направлению от поддерживающей штанги 55 второй секции.

Хотя на фиг. 1-6 показано, что демпфирующее устройство 10 для демпфирования вибраций содержит лишь одну поддерживающую штангу 55 второй секции, выступающий вверх от пластины 31 второй секции, в другом варианте реализации множество поддерживающих штанг 55 второй секции могут проходить по направлению вверх от пластины 31 второй секции и выступать из пластины 21 первой секции, аналогично конструкции, используемой для поддерживающих штанг 50 первой секции, но при обратном расположении. Проем 25 первой секции может содержать по существу свободную от трения втулку 67 на своей внутренней поверхности, например вкладыш из тефлона, предназначенную для уменьшения трения между поддерживающими штангами 55 второй секции и пластиной 21 первой секции во время работы.

Как показано на фиг. 2, поддерживающие штанги 50 первой секции распределены равномерно и радиальным образом относительно пластины 21 первой секции, а поддерживающие штанги 55 второй секции размещены центрально на пластине 31 второй секции. Как показано на фиг. 2, поддерживающие штанги 50 первой секции размещены между соседними заполняемыми текучей средой поглотителями 40a, 40b, 40c, 40d, размещенными между пластиной 21 первой секции и пластиной 31 второй секции.

Обратившись теперь к фиг. 7, можно видеть, что один или большее количество заполняемых текучей средой поглотителей 40 выполнены с возможностью сообщения по текучей среде с источником 710 текучей среды, обеспечивая возможность по меньшей мере частичной подачи и по меньшей мере частичного заполнения текучей средой одного или большего количества заполняемых текучей средой поглотителей 40. Демпфирующее устройство для демпфирования вибраций содержит систему 740 управления текучей средой, которая управляет подачей текучей среды в один или большее количество заполняемых текучей средой поглотителей и удалением текучей среды из них.

Предпочтительно, чтобы источник 710 текучей среды представлял собой газовый источник, например, подающий источник для подачи газа под давлением, причем заполняемые текучей средой поглотители 40 были выполнены с возможностью закачки газа под давлением. Источник текучей среды под давлением может быть выполнен в виде резервуара для текучей среды под давлением, например, в виде резервуара для сжатого воздуха, размещенного на устройстве 10, например, на верхней поверхности первой секции 20.

Источник 710 текучей среды может быть выполнен с возможностью сообщения по текучей среде с компрессором 760 для повторной подачи текучей среды в источник 710 текучей среды после распределения текучей среды по заполняемым текучей средой поглотителям 40. Компрессор может быть функционально соединен с двигателем 761, например, с дизельным двигателем. Источник 710 текучей среды, компрессор 760 и/или двигатель 761 могут быть поддержаны относительно демпфирующего устройства 10 для демпфирования вибраций. Вследствие способности устройства 10 работать только от сжатого воздуха, это устройство безопасно в областях, где электрические системы могут быть опасными. Кроме того, выброс воздуха имеет экологические преимущества. Специалистам в данной области техники очевидно, что могут быть использованы другие разновидности текучей среды, например, рабочая гидравлическая жидкость, однако была обнаружена предпочтительность использования газа в конкретных приложениях, вследствие, в частности, относительно малого веса газа.

Демпфирующее устройство 10 для демпфирования вибраций может содержать узел 730 смещения с обратной связью для обнаружения смещения между пластинами 21, 31 первой и второй секций и для поддержания расстояния между пластинами 21, 31 первой и второй секций на уровне конкретного определенного интервала. Этот определенный интервал может обычно быть определен как предпочтительное значение перемещения заполняемых текучей средой поглотителей 40.

Узел 730 смещения с обратной связью функционально соединен с источником 710 текучей среды для выборочной подачи текучей среды из источника 710 текучей среды для поддержания расстояния между пластинами 21, 31 первой и второй секций при перемещении пластин 21, 31 первой и второй секций по направлению друг к другу. Узел 730 смещения с обратной связью может быть также функционально соединен с узлом 720 выпуска, причем при обнаружении узлом 730 смещения с обратной связью, что пластина 31 второй секции смещена по направлению от пластины 21 первой секции, происходит включение узла 720 выпуска, обеспечивающая возможность удаления текучей среды из одного или большего количества заполняемых текучей средой поглотителей 40.

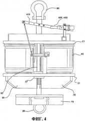
На фиг. 4-6 показано множество положений, между которыми может происходить перемещение устройства 10.

В частности на фиг. 5 устройство 10 показано в уравновешенном положении, при котором сила, приложенная к опорным узлам 25, 35 первой и второй секций, уравновешена силой, приложенной посредством давления в заполняемых текучей средой поглотителях 40.

На фиг. 4 показана ситуация, при которой сила, прилагаемая к опорным узлам 25, 35 первой и второй секций, больше давления, создаваемого заполняемыми текучей средой поглотителями 40. В этом положении устройство находится в сжатом состоянии. Узел 730 смещения с обратной связью обнаруживает эту неуравновешенность сил посредством перемещения пластин 21, 31 первой и второй секций по направлению друг к другу и включает подающее устройство для подачи текучей среды для по меньшей мере частичного заполнения заполняемых текучей средой поглотителей 40 для возвращения устройства в равновесное положение, показанное на фиг. 5.

Фиг. 6 показана ситуация, при которой сила, прилагаемая к опорным узлам 25, 35 первой и второй секций, меньше давления, создаваемого заполняемыми текучей средой поглотителями 40. На этой фигуре устройство находится в расширенном состоянии. Узел 730 смещения с обратной связью обнаруживает эту неуравновешенность сил посредством перемещения пластин 21, 31 первой и второй секций по направлению друг от друга и включает узел удаления текучей среды для удаления текучей среды из заполняемых текучей средой поглотителей 40 для возвращения устройства 10 в равновесное положение, показанное на фиг. 5.

Узел 730 смещения с обратной связью может быть выполнен в виде многих конструкций. На фиг. 4-6 показан пример конкретной механической конструкции для узла 730 смещения с обратной связью, содержащего рычаг 410, первое выравнивающее устройство 420 и второе выравнивающее устройство 430.

На своем первом конце рычаг 410 функционально соединен с пластиной 31 второй секции. Первое выравнивающее устройство 420 функционально соединено со вторым концом рычага 410 и источником 710 текучей среды, причем первое выравнивающее устройство может быть включено посредством перемещения рычага 410 при перемещении второй секции 30 по направлению к первой секции 20, как показано на фиг. 4. Включение первого выравнивающего устройства 420 приводит к подаче текучей среды из источника 710 текучей среды в один или большее количество заполняемых текучей средой поглотителей 40, что возвращает пластины 21, 31 первой и второй секций к заданному интервалу между ними, как показано на фиг. 5.

Второе выравнивающее устройство 430 функционально соединено со вторым концом рычага 410 и источником 710 текучей среды и выполнено с возможностью включения посредством смещения рычага 410 при смещении второго элемента 30 по направлению от пластины 21 первой секции, как показано на фиг. 6. Включение второго выравнивающего устройства 430 приводит к удалению текучей среды из одного или большего количества заполняемых текучей средой поглотителей 40 через узел 720 выпуска, возвращая, посредством этого, пластины 21, 31 первой и второй секций к заранее определенному интервалу между ними, как показано на фиг. 5.

Обратимся к фиг. 7. Узел 730 смещения с обратной связью может быть функционально соединен с системой 740 управления текучей средой. Система управления текучей средой может быть выполнена в виде управляющего клапанного узла 740 для управления направлением. Управляющий клапанный узел 740 для управления направлением содержит множество каналов 746. В частности, управляющий клапанный узел 740 для управления направлением содержит первый канал 741, сообщающийся по текучей среде с первым выравнивающим устройством 420, второй канал 742, сообщающийся по текучей среде со вторым выравнивающим устройством 430, третий канал 743, сообщающийся по текучей среде с источником 710 текучей среды, четвертый канал 744, сообщающийся по текучей среде с заполняемыми текучей средой поглотителями 40, пятый канал 745, сообщающийся по текучей среде с узлом 720 выпуска. Пятый канал 745 может просто представлять собой вентиляционную трубу выпуска.

Управляющий клапанный узел 740 для управления направлением выполнен с возможностью подачи текучей среды из источника 710 текучей среды в один или большее количество заполняемых текучей средой поглотителей 40 или возможностью удаления текучей среды из заполняемых текучей средой поглотителей 40 через узел 720 выпуска, на основании того, включено ли первое выравнивающее устройство 420 или второе выравнивающее устройство 430. Управляющий клапанный узел 740 для управления направлением содержит множество регулирующих элементов, связанных с соответствующими каналами 746, которые обнаруживают текучую среду, поступающую в них, причем включение одного из регулирующих элементов 747 в соответствующем каналу 746 приводит к открытию и/или закрытию одного или большего количества клапанов в одном или большем количестве каналов 746 управляющего узла 740 для управления направлением.

При включении регулирующего элемента 747 в первом канале 741 посредством подачи текучей среды при включении первого выравнивающего устройства 420 управляющий клапанный узел 740 для управления направлением содержит клапан в третьем канале 743 и четвертом канале 744 для обеспечения возможности подачи текучей среды из источника 710 текучей среды в один или большее количество заполняемых текучей средой поглотителей 40.

В качестве альтернативы, при включении регулирующего элемента 747 во втором канале 742 посредством подачи текучей среды при включении второго выравнивающего устройства 430 управляющий клапанный узел 740 для управления направлением содержит клапаны в четвертом канале 744 и пятом канале 745 для обеспечения возможности удаления текучей среды из заполняемых текучей средой поглотителей 40.

Как показано на фиг. 7 стрелкой с двумя головками, линия передачи текучей среды между управляющим клапанным узлом 740 для управления направлением и заполняемыми текучей средой поглотителями 40 представляет собой одну или большее количество линий передачи текучей среды с двумя направлениями. Как таковая, текучая среда может быть передана из источника 710 текучей среды в заполняемые текучей средой поглотители 40 через управляющий клапанный блок 740 для управления направлением, посредством использования той же самой линии передачи текучей среды, что использована для удаления текучей среды из заполняемых текучей средой поглотителей 40 в отводную трубу 720 через управляющий клапанный блок 740 для управления направлением.

Специалистам в данной области техники очевидно, что описанный выше узел 730 смещения с обратной связью представляет собой конструкцию механического типа, которая предпочтительна вследствие типа вибрационных сил, воздействующих на устройство. Хотя описанный выше узел 730 смещения с обратной связью основан на механической конструкции, предназначенной для обнаружения смещения между пластиной 21 первой секции и пластиной 31 второй секции, могут быть использованы и другие конструкции.

В частности один или большее количество электронных датчиков (не показаны), таких, например, как лазерный или ультразвуковой датчик, могут быть использованы для обнаружения смещения пластины 21 первой секции по направлению к пластине 31 второй секции или от нее. Сигнал от одного или большего количества электронных датчиков может быть использован в качестве входного сигнала для электромеханического клапана регулировки направления, в котором в зависимости от электрического входного сигнала от одного или большего количества электронных датчиков, характеризующего смещение пластины 21 первой секции по направлению к пластине 31 второй секции или от нее, относительно порогового смещения, операция подачи текучей среды или удаления текучей среды инициирована электромеханическим клапаном регулировки направления. Также возможны другие конструкции узла 730 смещения с обратной связью.

На фиг. 4-6 можно видеть, что один или большее количество заполняемых текучей средой поглотителей 40 могут быть выполнены в виде надувных поглотителей, таких как воздушные резервуары, в частности воздушные резервуары подвески грузовика, использующие конструкцию 45 с обкатывающей диафрагмой и поршнем. После заполнения воздушных резервуаров 40 текучей средой воздушные резервуары 40 проходят по существу перпендикулярно первой и второй секциям 20, 30, как показано на фиг. 5 и более подробно на фиг. 6, чтобы заставить пластины 21, 31 первой и второй секций быть на некотором расстоянии друг от друга.

После удаления текучей среды из воздушных резервуаров 40, эти воздушные резервуары 40 обеспечивают перемещение пластин 21, 31 первой и второй секций по направлению друг к другу, как показано на фиг. 4. В одной форме пластина 31 второй секции содержит множество стоек, проходящих по направлению вверх от пластины 31 второй секции. Эти стойки поддерживают пластину 21 первой секции выше пластины 31 второй секции на некотором расстояния при по существу пустых заполняемых текучей средой поглотителях 40, не имеющих возможности поддержания первой секции 20. В частности, обращенная вниз поверхность пластины 21 первой секции прижата к основанию каждой стойки при по существу пустых заполняемых текучей средой поглотителях 40. Специалистам в данной области техники оч