Абдусамадов Гамзат Сайгидахмедович (RU)
Абдусамадов Гамзат Сайгидахмедович (RU) является правообладателем следующих патентов:

Способ изготовления натяжного потолка
Изобретение относится к области строительства, в частности к производству натяжных потолков. Полотно натяжного потолка выполнено из поливинилхлоридной пленки и состоит из нескольких участков, соединенных между собой сварными швами. Швы получены в результате сложения смежных участков лицевой стороной друг к другу и их горячей обработки. Швы имеют утолщение с изнаночной стороны полотна, образованное...
2273703
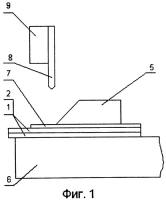
Узел крепления натяжного потолка
Изобретение относится к области строительства, в частности к узлам крепления натяжного потолка. Технический результат заключается в повышении надежности крепления и фиксации узла относительно стены, фиксирующего элемента в узле, накладного элемента на узле, устранении смещения пленки натяжного потолка, снижении массы конструкции и обеспечении свободного доступа к крепежным отверстиям. Узел креплен...
2325490
Способ изготовления разноцветной плитки и оснастка для этого способа
Изобретение относится к области строительства, а именно к конструкциям и способам для формования методом вибролитья тротуарной, половой и облицовочной плитки из многоцветных песчано-цементных смесей. Изобретение позволит упростить конструкцию оснастки и уменьшить трудоемкость процесса изготовления многоцветной плитки. Оснастка состоит из полимерной формы с боковыми стенками и дном и шаблона, выпо...
2452619