Способ изготовления натяжного потолка

Иллюстрации

Показать все

Изобретение относится к области строительства, в частности к производству натяжных потолков. Полотно натяжного потолка выполнено из поливинилхлоридной пленки и состоит из нескольких участков, соединенных между собой сварными швами. Швы получены в результате сложения смежных участков лицевой стороной друг к другу и их горячей обработки. Швы имеют утолщение с изнаночной стороны полотна, образованное посредством горячей обработки сварного шва с изнаночной стороны полотна. Технический результат изобретения заключается в повышении прочности полотна натяжного потолка. 4 ил.

Реферат

Изобретение относится к области строительства, в частности к производству натяжных потолков.

В патенте RU 2192523, Е 04 В 9/30, 10.11.2002 защищен способ монтажа натяжных потолков, в котором используют полотно, при раскрое которого его размеры определяют с использованием метода триангуляции с учетом коэффициента растяжения материала, из которого изготовлено полотно, а расчет длины сторон полотна осуществляют по заданной формуле.

В приведенном решении используют цельное полимерное полотно, однако, нередко возникает необходимость применения полотна, состоящего из нескольких участков, соединенных между собой.

Задачей предлагаемого решения являлась разработка способа изготовления натяжного потолка из соединенных между собой частей, прочность и внешний вид которого не уступает цельному полотну.

Данная задача для объекта «способ» решается за счет изготовления полотна натяжного потолка из полимерной, преимущественно поливинилхлоридной пленки, отличающегося от известного изготовления тем, что его выполняют из нескольких, по меньшей мере двух, последовательно соединенных между собой участков, при этом края смежных участков полотна совмещают друг с другом, складывая их лицевой стороной вовнутрь, и соединяют участки полотна по одному краю сварным швом, затем разворачивают соединенные участки полотна в одну плоскость, после чего выполняют горячую обработку полученного шва с изнаночной стороны полотна с образованием в месте шва утолщения.

Использование полотна, состоящего из нескольких участков, позволяет удешевить готовое изделие, а также разнообразить ассортимент выпускаемой продукции за счет использования многоцветных композиций, не теряя при этом потребительских свойств натяжного потолка. Кроме того, при использовании такого полотна прочность натяжного потолка не уступает, а даже превышает прочность обычно используемого цельного полотна. При этом можно говорить об экономии при использовании отходов полотна.

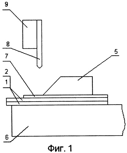
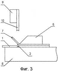
Изобретение поясняется чертежом, где на фиг.1 схематично показан первый этап получения полотна натяжного потолка, на фиг.2 - полотно с полученным сварным швом, на фиг.3 схематично показан второй этап получения полотна, на фиг.4 - полотно с обработанным сварным швом.

Представленное на фиг.2 полотно натяжного потолка состоит из участков 1 и 2 полимерной пленки, края которых по одной из сторон этих участков соединены между собой сварным швом 3, имеющим гребень, с изнаночной стороны полотна. После горячего прессования гребня в месте соединения участков полотна с изнаночной его стороны образуют утолщение 4 (фиг.4).

Производство полотна натяжного потолка можно охарактеризовать следующей последовательностью операций.

Рулонную поливинилхлоридную пленку (ПВХ) разматывают и обрезают с получением участков 1, 2 имеющих необходимые размеры.

Участки пленки 1 и 2 складывают лицевой стороной друг к другу и фиксируют прессом 5 к столу 6 (фиг.1). Между прессом и пленкой размещают тефлоновую ленту 7.

Горячим паяльным ножом 8 (с температурой в пределах 170-180°С) проводят вдоль пресса, осуществляя сварку двух участков полотна, при этом одновременно обрезают лишнюю кромку пленки. Позицией 9 обозначен источник тепла.

В развернутом виде получают полотно со сварным швом 3, имеющим вид, показанный на фиг.2. Далее проводят операции по обработке полученного сварного шва 3.

Развернутый сварной шов 3 фиксируют прессом 5 к столу 6 таким образом, чтобы центр шва попал на середину паяльного ножа 10, имеющего, например, вогнутый профиль (фиг.3).

Горячим паяльным ножом 10 проводят вдоль пресса, осуществляя обработку шва с получением утолщения 4, имеющего вид, показанный на фиг.4.

Полученное утолщение обеспечивает прочность стыковочных швов полотна, при этом не нарушает его внешнего вида, т.к. находится с тыльной стороны полотна, и позволяет расширить технологические возможности при монтаже натяжных потолков, исключая их удорожание.

Способ изготовления полотна натяжного потолка, выполненного из полимерной пленки, отличающийся тем, что его выполняют, по меньшей мере, из двух последовательно соединенных между собой участков, при этом края смежных участков полотна совмещают друг с другом, складывая их лицевой стороной вовнутрь, и соединяют участки полотна по одному краю сварным швом, затем разворачивают соединенные участки полотна в одну полость, после чего выполняют горячую обработку полученного шва с изнаночной стороны полотна с образованием в месте шва утолщения.